Запчасти Komatsu WA600-1 ОБОГРЕВАТЕЛЬ. (СПЕЦ-Я TBG) РАМА И ЧАСТИ КОРПУСА

Схема запчастей Komatsu WA600-1 - ОБОГРЕВАТЕЛЬ. (СПЕЦ-Я TBG) РАМА И ЧАСТИ КОРПУСА
FIT
1:1
100%

Артикул

Название

Примечание

Количество

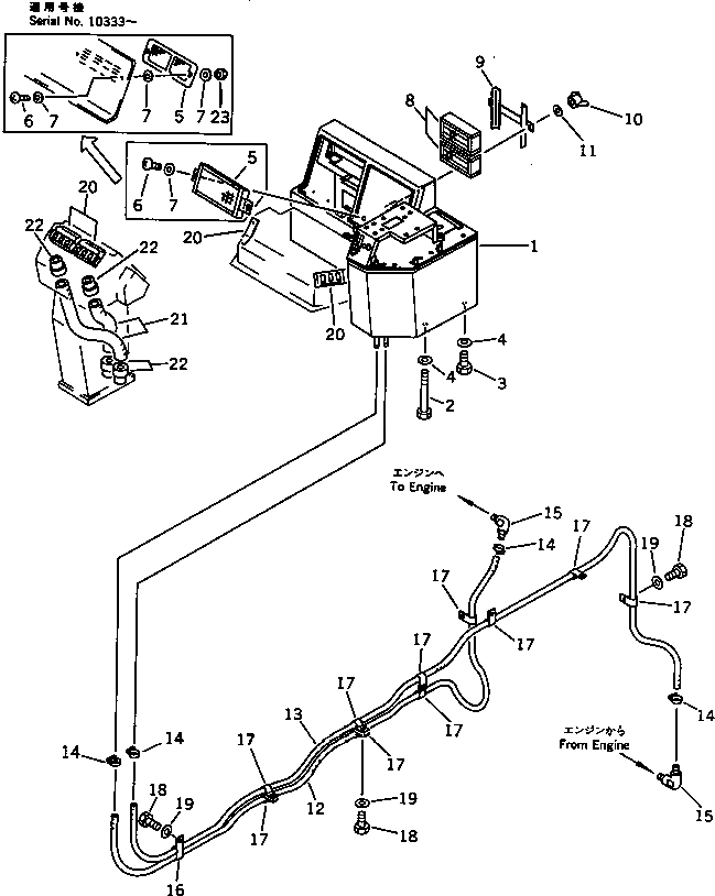
1

426-07-13100

CAR HEATER ASS'Y

SN: 10001-UP

1шт.

2

01010-51265

BOLT

SN: 10001-UP

1шт.

3

01010-51225

BOLT

SN: 10001-UP

4шт.

4

01643-31232

WASHER

SN: 10001-UP

5шт.

5

423-T43-1430

FILTER

SN: 10333-UP

1шт.

5

421-07-12320

FILTER

SN: 10001-10332

1шт.

6

01220-40820

SCREW

SN: 10333-UP

2шт.

6

01220-40812

SCREW

SN: 10001-10332

2шт.

7

01643-30823

WASHER

SN: 10333-UP

6шт.

7

01643-30823

WASHER

SN: 10001-10332

2шт.

8

421-07-12312

FILTER

SN: 10001-UP

2шт.

9

426-07-11310

HOLDER

SN: 10001-UP

1шт.

10

01540-20840

NUT,WING

SN: 10001-UP

2шт.

11

01643-30823

WASHER

SN: 10001-UP

2шт.

12

09483-00532

HOSE

SN: 10001-UP

1шт.

13

09483-00541

HOSE

SN: 10001-UP

1шт.

14

07281-00259

CLAMP

SN: 10001-UP

6шт.

15

6137-81-3221

ELBOW

SN: 10001-UP

2шт.

16

421-07-11760

CLIP

SN: 10001-UP

1шт.

17

08036-02514

CLIP

SN: 10001-UP

10шт.

18

01010-51020

BOLT

SN: 10001-UP

7шт.

19

01643-31032

WASHER

SN: 10001-UP

7шт.

20

421-07-12512

GRILLE ASS'Y

SN: 10001-UP

6шт.

21

421-07-12831

HOSE

SN: 10001-UP

2шт.

22

421-07-12810

CONNECTOR

SN: 10001-UP

4шт.

23

01580-10806

NUT

SN: 10333-UP

2шт.

Выбрано товаров: 26