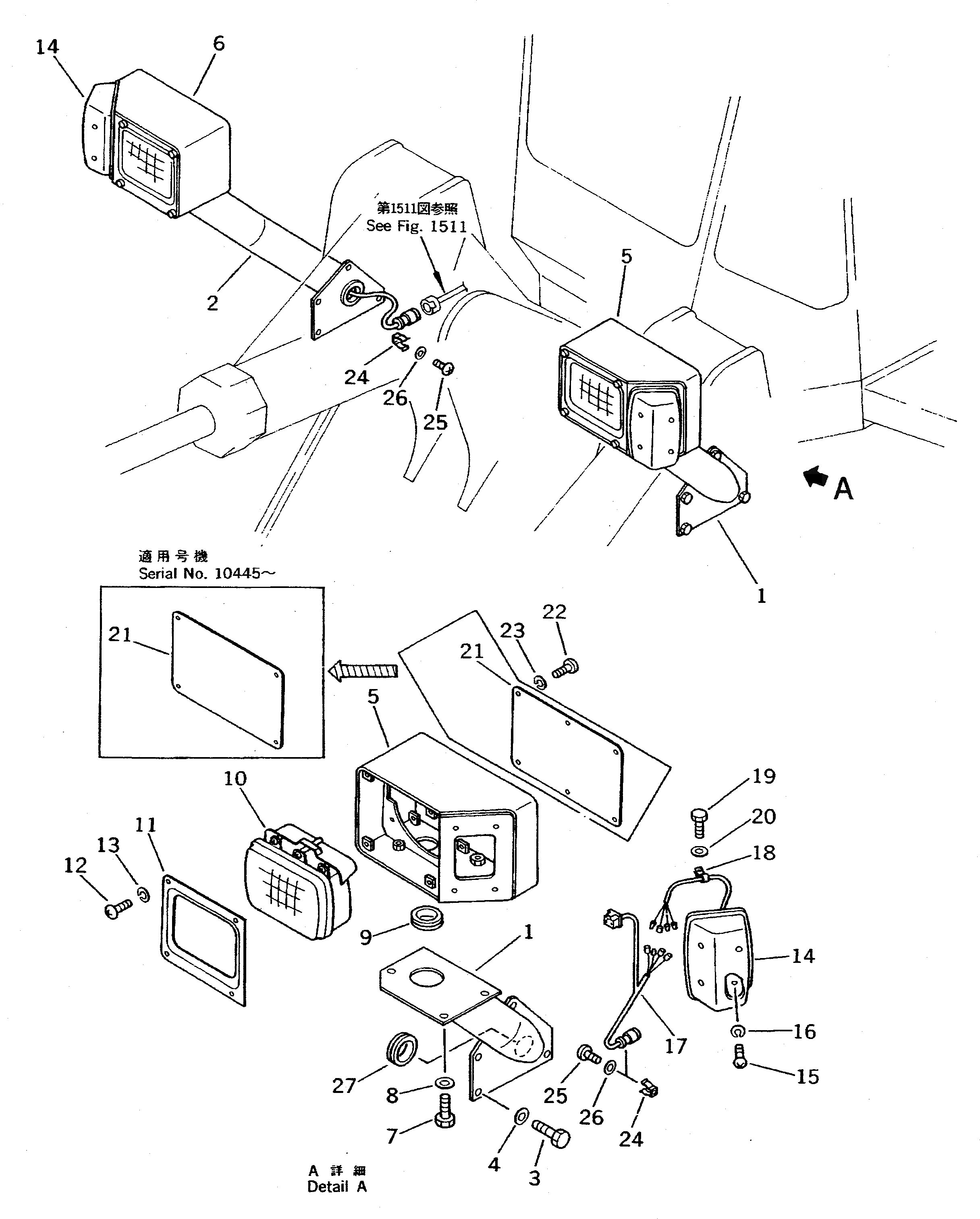
Запчасти Komatsu WA600-1 ЭЛЕКТРИКА (ПЕРЕДН. ОСВЕЩЕНИЕ) КОМПОНЕНТЫ ДВИГАТЕЛЯ И ЭЛЕКТРИКА

Схема запчастей Komatsu WA600-1 - ЭЛЕКТРИКА (ПЕРЕДН. ОСВЕЩЕНИЕ) КОМПОНЕНТЫ ДВИГАТЕЛЯ И ЭЛЕКТРИКА
FIT
1:1
100%

Артикул

Название

Примечание

Количество

1

426-06-13113

SUPPORT,L.H.

SN: 10001-UP

1шт.

2

426-06-13123

SUPPORT,R.H.

SN: 10001-UP

1шт.

3

01010-81230

BOLT

SN: 10001-UP

8шт.

4

01643-31232

WASHER

SN: 10001-UP

8шт.

5

419-06-13221

BRACKET,L.H.

SN: 10403-UP

1шт.

5

0

BRACKET,L.H.

SN: 10001-10402

1шт.

6

419-06-13231

BRACKET,R.H.

SN: 10403-UP

1шт.

6

0

BRACKET,R.H.

SN: 10001-10402

1шт.

7

01010-81225

BOLT

SN: 10001-UP

6шт.

8

01643-31232

WASHER

SN: 10001-UP

6шт.

9

08037-03614

GROMMET

SN: 10001-UP

2шт.

10

421-06-13102

LAMP ASS'Y,HEAD

SN: 10001-UP

2шт.

10

421-06-13110

BULB, 85/65W

SN: 10001-UP

1шт.

10

421-06-13120

CUSHION

SN: 10001-UP

4шт.

11

419-06-13250

COVER

SN: 10001-UP

2шт.

12

01220-40610

SCREW

SN: 10001-UP

8шт.

13

01602-20619

WASHER,SPRING

SN: 10001-UP

8шт.

14

421-06-13301

LAMP ASS'Y,L.H.

SN: 10001-UP

1шт.

14

421-06-13401

LAMP ASS'Y,R.H.

SN: 10001-UP

1шт.

14

22W-06-12310

LENS,L.H.

SN: 10001-UP

1шт.

14

22W-06-12320

LENS,R.H.

SN: 10001-UP

1шт.

14

421-06-13310

BULB, 10/4W

SN: 10001-UP

1шт.

14

08105-12420

BULB, 25W

SN: 10001-UP

2шт.

14

01220-50450

SCREW

SN: 10001-UP

2шт.

14

01220-50416

SCREW

SN: 10001-UP

2шт.

14

01641-40405

WASHER

SN: 10001-UP

4шт.

15

01220-40516

SCREW

SN: 10067-UP

8шт.

15

0

SCREW

SN: 10001-10066

8шт.

16

01601-20513

WASHER,SPRING

SN: 10001-UP

8шт.

17

426-06-12322

WIRE ASS'Y,L.H.

SN: 11110-UP

1шт.

17

426-06-12840

WIRE ASS'Y,R.H.

SN: 11110-UP

1шт.

17

426-06-12321

WIRE ASS'Y

SN: 10001-11106

2шт.

18

08036-11210

CLIP

SN: 10001-UP

2шт.

19

01010-81020

BOLT

SN: 10001-UP

2шт.

19

01010-51020

BOLT

SN: 10001-.

2шт.

20

01643-31032

WASHER

SN: 10001-UP

2шт.

21

419-06-13241

COVER

SN: 10445-UP

2шт.

21

419-06-13240

COVER

SN: 10001-10444

2шт.

22

01220-40610

SCREW

SN: 10445-UP

8шт.

22

01220-40610

SCREW

SN: 10001-10444

12шт.

23

01602-20619

WASHER,SPRING

SN: 10445-UP

8шт.

23

01602-20619

WASHER,SPRING

SN: 10001-10444

12шт.

24

08052-02411

CLIP

SN: .-UP

2шт.

24

283-06-17120

CLIP

SN: 10001-.

2шт.

25

01220-40608

SCREW

SN: 10001-UP

2шт.

26

01641-20608

WASHER

SN: 10001-UP

2шт.

27

08037-03620

GROMMET

SN: 10001-UP

2шт.

Выбрано товаров: 47