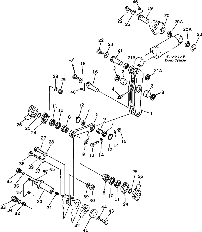
Запчасти Komatsu WA600-1 КОЛЕНЧАТЫЙ РЫЧАГ (ДЛЯ КОРОТК. РУКОЯТЬ)(№-78) РАБОЧЕЕ ОБОРУДОВАНИЕ

Схема запчастей Komatsu WA600-1 - КОЛЕНЧАТЫЙ РЫЧАГ (ДЛЯ КОРОТК. РУКОЯТЬ)(№-78) РАБОЧЕЕ ОБОРУДОВАНИЕ
FIT
1:1
100%

Артикул

Название

Примечание

Количество

|$0

426-857-0020

BELLCRANK ASS'Y

SN: 10481-@

1шт.

|$1

426-70-00021

BELLCRANK ASS'Y

SN: 10001-10480

1шт.

1

0

BELLCRANK

SN: 10481-@

1шт.

1

426-70-11133

BELLCRANK

SN: 10001-10480

1шт.

2

426-70-11860

BUSHING

SN: 10001-@

2шт.

3

426-09-11110

SEAL,DUST

SN: 10001-@

2шт.

4

07020-00000

FITTING,GREASE

SN: 10001-@

1шт.

|$7

426-857-0032

LINK ASS'Y

SN: 10481-@

1шт.

|$8

426-852-1200

LINK ASS'Y

SN: 10001-10480

1шт.

5

0

LINK

SN: 10481-@

1шт.

5

0

LINK

SN: 10001-10480

1шт.

6

426-70-11820

BUSHING

SN: 10001-@

1шт.

7

425-09-11110

SEAL,DUST

SN: 10001-@

2шт.

8

426-70-11491

BUSHING

SN: 10200-10758

2шт.

8

0

BUSHING

SN: 10001-10199

2шт.

9

07020-00000

FITTING,GREASE

SN: 10001-10758

1шт.

10

426-09-11390

SEAL,OIL

SN: 10029-10758

2шт.

10

0

SEAL,OIL

SN: 10001-10028

2шт.

11

426-09-11360

SEAL,DUST

SN: 10001-@

2шт.

12

426-70-11170

RING

SN: 10001-@

2шт.

13

426-09-11150

BOLT

SN: 10001-@

2шт.

14

01641-20608

WASHER

SN: 10001-@

4шт.

15

426-09-11130

NUT

SN: 10001-@

2шт.

16

426-70-11920

PIN

SN: 10001-@

1шт.

17

01010-51630

BOLT

SN: 10001-@

1шт.

18

425-70-11290

WASHER

SN: 10001-@

1шт.

19

426-70-11950

PIN

SN: 10001-@

1шт.

20

426-70-11320

SHIM, 1.5MM

SN: 10001-@

2шт.

20A

425-09-11110

SEAL,DUST

SN: 10001-@

2шт.

21

426-70-11941

PIN

SN: 10001-@

1шт.

21A

425-09-11110

SEAL,DUST

SN: 10001-@

2шт.

22

01010-51630

BOLT

SN: 10001-@

2шт.

23

425-70-11290

WASHER

SN: 10001-@

2шт.

24

426-70-11411

FLANGE

SN: 10200-10758

2шт.

24

0

FLANGE

SN: 10001-10199

2шт.

25

07000-05140

O-RING

SN: 10001-@

2шт.

25

0

O-RING

SN: (10001-10166)

2шт.

26

426-70-11440

SHIM, 0.2MM

SN: 10001-@

6шт.

26

426-70-11450

SHIM, 0.5MM

SN: 10001-@

10шт.

26

426-70-11520

SHIM, 2.3MM

SN: 10001-@

4шт.

27

01011-51600

BOLT

SN: 10001-@

4шт.

28

01643-31645

WASHER

SN: 10001-@

8шт.

29

421-40-11510

NUT

SN: 10001-@

4шт.

30

426-70-11360

PIN

SN: 10001-10758

1шт.

31

07043-00415

PLUG

SN: 10001-10758

1шт.

32

07020-00000

FITTING,GREASE

SN: 10001-@

1шт.

33

600-211-7111

PLUG

SN: 10001-10758

1шт.

34

07002-02034

O-RING

SN: 10001-10758

1шт.

35

07040-11007

PLUG

SN: 10001-10758

1шт.

36

07002-01023

O-RING

SN: 10001-10758

1шт.

37

425-70-11250

CAM

SN: 10001-@

1шт.

38

01010-52480

BOLT

SN: 10001-@

1шт.

39

01643-32460

WASHER

SN: 10001-@

2шт.

40

01580-12419

NUT

SN: 10001-@

1шт.

41

426-70-11390

RETAINER

SN: 10001-@

1шт.

42

426-70-11460

SHIM, 0.2MM

SN: 10001-@

3шт.

42

426-70-11470

SHIM, 0.5MM

SN: 10001-@

6шт.

43

01010-51645

BOLT

SN: 10001-@

3шт.

44

01643-31645

WASHER

SN: 10001-@

3шт.

45

07049-01620

PLUG

SN: 10001-@

3шт.

46

07049-03342

PLUG

SN: 10001-@

2шт.

Выбрано товаров: 61