Запчасти Komatsu WA600-1 КОВШ¤ .M РАБОЧЕЕ ОБОРУДОВАНИЕ

Схема запчастей Komatsu WA600-1 - КОВШ¤ .M РАБОЧЕЕ ОБОРУДОВАНИЕ
FIT
1:1
100%

Артикул

Название

Примечание

Количество

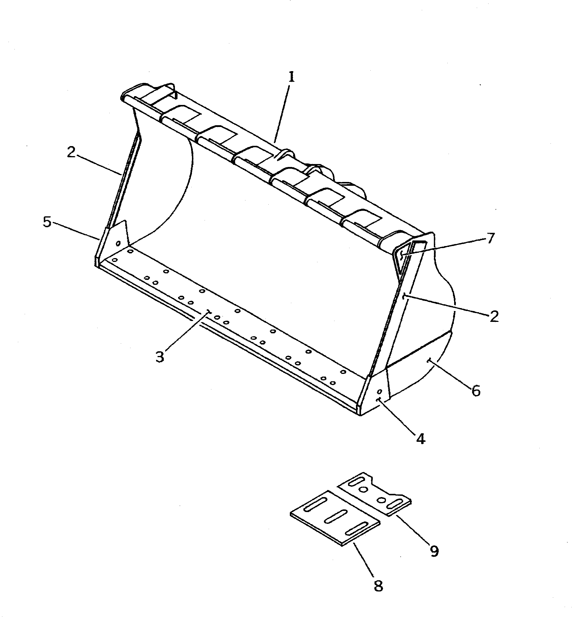
1

426-V77-1110

BUCKET ASS'Y

SN: 10001-UP

1шт.

2

426-806-1131

PLATE (WELDED)

SN: 10001-UP

2шт.

3

426-V77-1120

EDGE (WELDED)

SN: 10001-UP

1шт.

3

426-V77-1130

PLATE (WELDED)

SN: 10001-UP

1шт.

4

426-70-12450

CORNER,L.H. (WELDED)

SN: 10001-UP

1шт.

5

426-70-12460

CORNER,R.H. (WELDED)

SN: 10001-UP

1шт.

6

426-V77-1140

PLATE (WELDED)

SN: 10001-UP

2шт.

7

426-V77-1150

PLATE (WELDED)

SN: 10001-UP

2шт.

8

426-70-12820

PLATE

SN: 10001-UP

2шт.

9

426-70-12142

PLATE

SN: 10001-UP

2шт.

Выбрано товаров: 10