Запчасти Komatsu WA600-1 EXCAVATING КОВШ¤ .M¤ С ЗУБЬЯМИ РАБОЧЕЕ ОБОРУДОВАНИЕ

Схема запчастей Komatsu WA600-1 - EXCAVATING КОВШ¤ .M¤ С ЗУБЬЯМИ РАБОЧЕЕ ОБОРУДОВАНИЕ
FIT
1:1
100%

Артикул

Название

Примечание

Количество

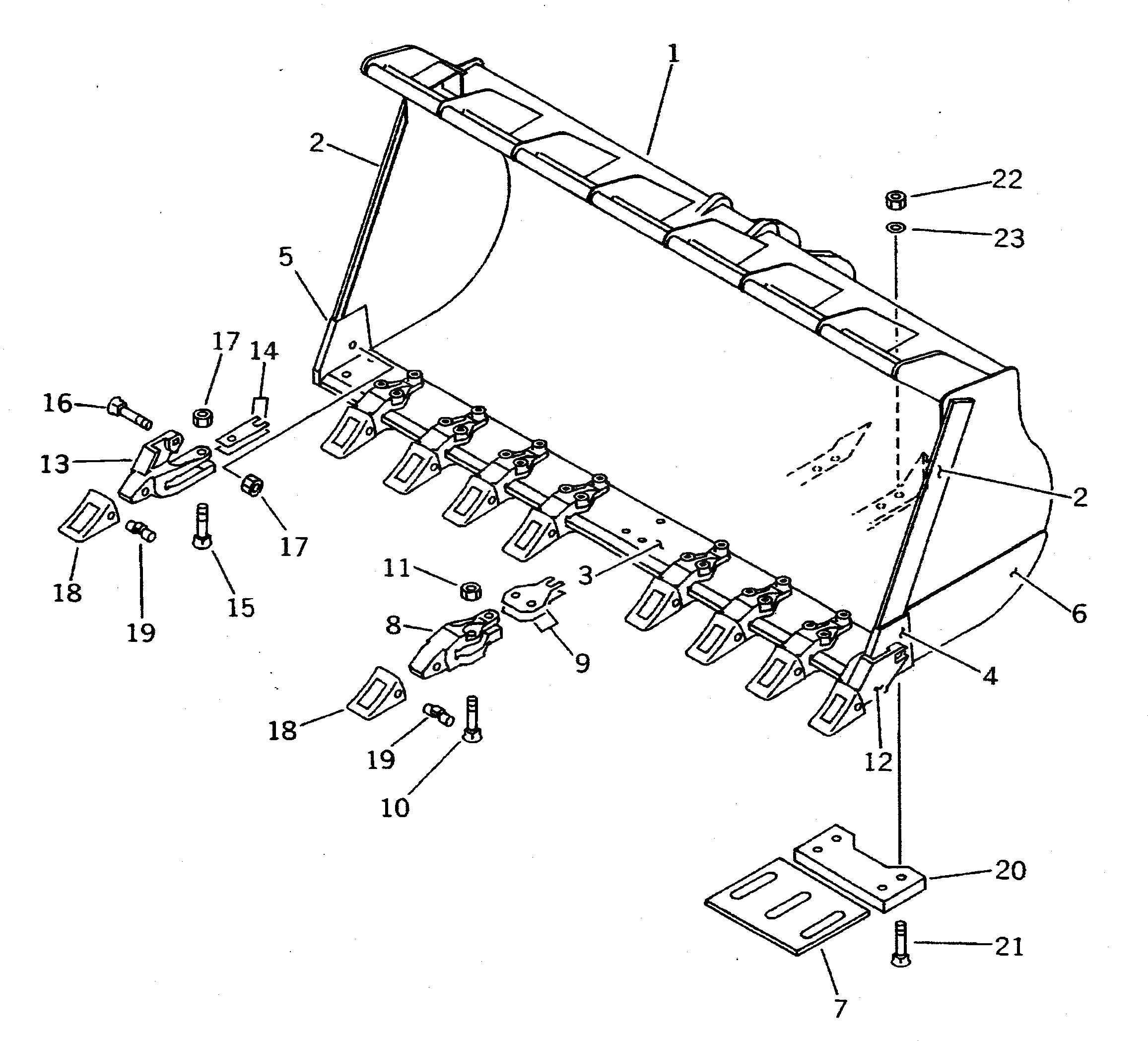
1

426-V67-1111

BUCKET ASS'Y

SN: 10001-UP

1шт.

2

426-806-1131

PLATE (WELDED)

SN: 10001-UP

2шт.

3

426-V67-1120

EDGE (WELDED)

SN: 10001-UP

1шт.

3

426-V67-1130

PLATE (WELDED)

SN: 10001-UP

1шт.

4

426-70-12450

CORNER,L.H. (WELDED)

SN: 10001-UP

1шт.

5

426-70-12460

CORNER,R.H. (WELDED)

SN: 10001-UP

1шт.

6

426-806-1180

PLATE (WELDED)

SN: 10001-UP

2шт.

7

426-70-12190

PLATE (WELDED)

SN: 10001-UP

2шт.

8

426-847-1141

ADAPTER

SN: 10001-UP

8шт.

9

178-70-14150

SPACER, 1.00MM

SN: 10001-UP

8шт.

9

178-70-14160

SPACER, 0.50MM

SN: 10001-UP

16шт.

10

02091-12050

BOLT

SN: 10001-UP

22шт.

11

02290-12031

NUT

SN: 10001-UP

24шт.

12

426-847-1151

ADAPTER,L.H.

SN: 10001-UP

1шт.

13

426-847-1161

ADAPTER,R.H.

SN: 10001-UP

1шт.

14

178-70-14240

SPACER, 1.00MM

SN: 10001-UP

2шт.

14

178-70-14250

SPACER, 0.50MM

SN: 10001-UP

2шт.

15

02091-12050

BOLT

SN: 10001-UP

6шт.

16

02091-12015

BOLT

SN: 10001-UP

2шт.

17

02290-12031

NUT

SN: 10001-UP

6шт.

18

426-847-1110

TOOTH

SN: 10001-UP

10шт.

19

426-847-1130

PIN

SN: 10001-UP

10шт.

20

426-70-12141

PLATE

SN: 10001-UP

2шт.

21

02090-11475

BOLT

SN: 10001-UP

8шт.

22

02290-11422

NUT

SN: 10001-UP

8шт.

23

01643-32460

WASHER

SN: 10001-UP

8шт.

Выбрано товаров: 26