Запчасти Komatsu WA600-1 РУЛЕВ. УПРАВЛЕНИЕ ЗАПРАШИВАЮЩ. КЛАПАН (/) РУЛЕВ. УПРАВЛЕНИЕ И СИСТЕМА УПРАВЛЕНИЯ

Схема запчастей Komatsu WA600-1 - РУЛЕВ. УПРАВЛЕНИЕ ЗАПРАШИВАЮЩ. КЛАПАН (/) РУЛЕВ. УПРАВЛЕНИЕ И СИСТЕМА УПРАВЛЕНИЯ
FIT
1:1
100%

Артикул

Название

Примечание

Количество

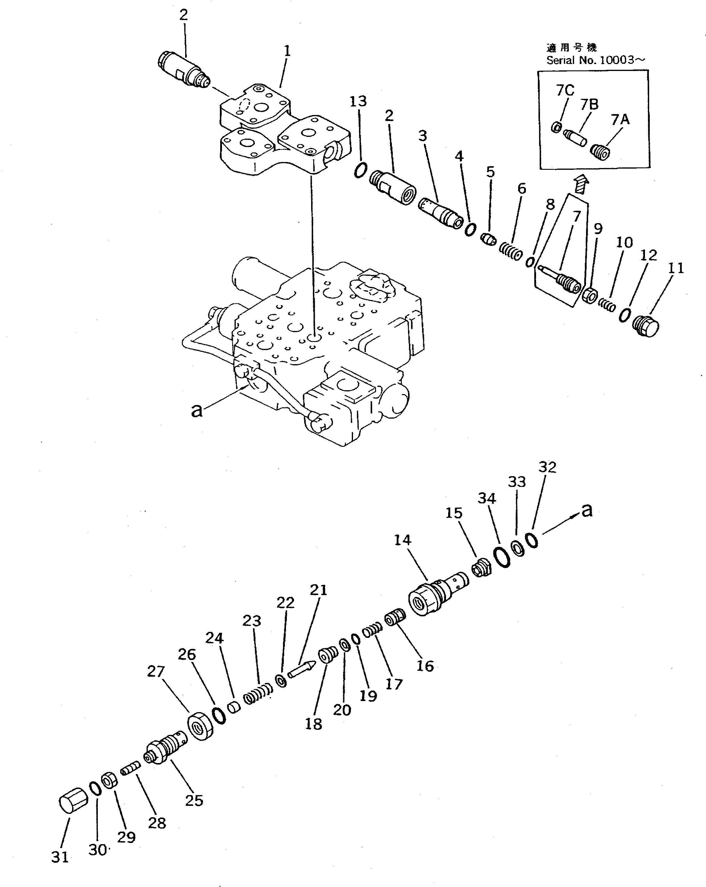
|1

702-23-23001

VALVE ASS'Y,STEERING DEMAND

SN: 10001-UP

1шт.

|1

0

VALVE ASS'Y,STEERING DEMAND

SN: (10001-11074)

1шт.

|$$3

THESE ASSEMBLIES CONSIST OF ALL PARTS SHOWN IN FIGS.4101 TO 4103.

-1шт.

|1

702-23-21600

CASE ASS'Y,STEERING DEMAND

SN: 11075-UP

1шт.

|1

702-23-21400

CASE ASS'Y

SN: 10001-11074

1шт.

1

0

CASE

SN: 11075-UP

1шт.

|1

0

CASE

SN: 10001-11074

1шт.

|2

709-30-64500

VALVE ASS'Y,SUCTION AND SAFETY

SN: 11075-UP

2шт.

|2

709-30-62401

VALVE ASS'Y,SUCTION AND SAFETY

SN: 10003-11074

2шт.

|2

709-30-62400

VALVE ASS'Y

SN: 10001-10002

2шт.

2

0

SLEEVE

SN: 10001-UP

1шт.

3

0

VALVE

SN: 11075-UP

1шт.

|3

0

VALVE

SN: 10001-11074

1шт.

4

0

SEAL

SN: 10001-UP

1шт.

5

0

POPPET

SN: 11075-UP

1шт.

|5

0

POPPET

SN: 10001-11074

1шт.

6

0

SPRING

SN: 10001-UP

1шт.

7

0

PISTON

SN: 10001-10002

1шт.

7A

0

SCREW

SN: 10003-UP

1шт.

7B

0

PISTON

SN: 11075-UP

1шт.

|7B

0

PISTON

SN: 10003-11074

1шт.

7C

0

SEAL

SN: 11075-UP

1шт.

8

0

O-RING

SN: 10001-UP

1шт.

9

0

NUT

SN: 10001-UP

1шт.

10

0

SPRING

SN: 10001-UP

1шт.

11

0

PLUG

SN: 10001-UP

1шт.

12

0

O-RING

SN: 10001-UP

1шт.

13

07002-02034

O-RING

SN: 10001-UP

1шт.

|14

709-80-51600

VALVE ASS'Y,RELIEF

SN: 10001-UP

1шт.

14

0

SLEEVE

SN: 10001-UP

1шт.

15

0

PLUG

SN: 10001-UP

1шт.

16

0

VALVE

SN: 10001-UP

1шт.

17

0

SPRING

SN: 10001-UP

1шт.

18

0

SEAT

SN: 10001-UP

1шт.

19

0

O-RING

SN: 10001-UP

1шт.

20

0

RING,BACK-UP

SN: 10001-UP

1шт.

21

0

POPPET

SN: 10001-UP

1шт.

22

0

SPACER

SN: 10001-UP

1шт.

23

0

SPRING

SN: 10001-UP

1шт.

24

0

RETAINER

SN: 10001-UP

1шт.

25

0

HOLDER

SN: 10001-UP

1шт.

26

0

O-RING

SN: 10001-UP

1шт.

27

0

NUT

SN: 10001-UP

1шт.

28

0

SCREW

SN: 10001-UP

1шт.

29

0

NUT

SN: 10001-UP

1шт.

30

0

O-RING

SN: 10001-UP

1шт.

31

0

COVER

SN: 10001-UP

1шт.

32

700-13-31161

O-RING

SN: 10001-UP

1шт.

33

700-80-51190

RING,BACK-UP

SN: 10001-UP

1шт.

34

07002-03334

O-RING

SN: 10001-UP

1шт.

Выбрано товаров: 50