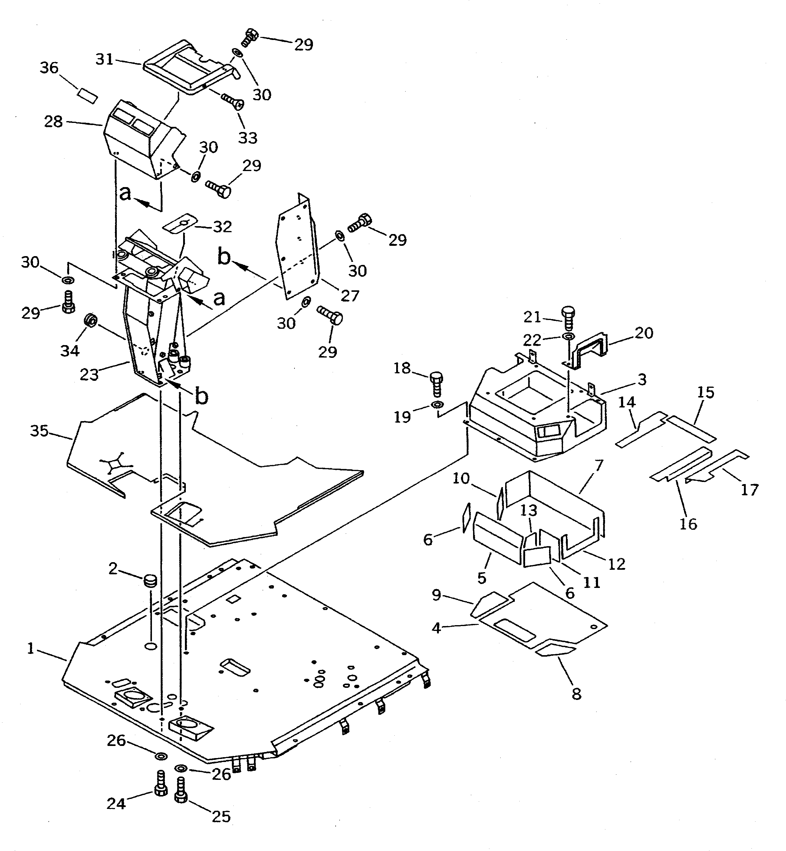
Запчасти Komatsu WA600-1 ОСНОВН. КОНСТРУКЦИЯ И ПРИБОРНАЯ ПАНЕЛЬ(№-8) РАМА И ЧАСТИ КОРПУСА

Схема запчастей Komatsu WA600-1 - ОСНОВН. КОНСТРУКЦИЯ И ПРИБОРНАЯ ПАНЕЛЬ(№-8) РАМА И ЧАСТИ КОРПУСА
FIT
1:1
100%

Артикул

Название

Примечание

Количество

1

426-54-12414

FRAME,FLOOR

SN: 10024-10864

1шт.

|1

0

FRAME,FLOOR

SN: 10001-10023

1шт.

2

09415-03614

CAP

SN: 10001-@

1шт.

3

425-54-12610

BRACKET ASS'Y

SN: 10001-10864

1шт.

4

425-54-12630

INSULATOR

SN: 10001-10864

1шт.

5

425-54-12640

INSULATOR

SN: 10001-10864

1шт.

6

425-54-12650

INSULATOR

SN: 10001-10864

2шт.

7

425-54-12621

INSULATOR

SN: 10001-10864

1шт.

8

423-54-12710

INSULATOR

SN: 10001-10864

1шт.

9

423-54-12720

INSULATOR

SN: 10001-10864

1шт.

10

423-54-12730

INSULATOR

SN: 10001-10864

1шт.

11

423-54-12740

INSULATOR

SN: 10001-10864

1шт.

12

423-54-12750

INSULATOR

SN: 10001-10864

1шт.

13

423-54-12690

INSULATOR

SN: 10001-10864

1шт.

14

423-54-12810

INSULATOR

SN: 10001-10864

1шт.

15

423-54-12820

INSULATOR

SN: 10001-10864

1шт.

16

423-54-12780

INSULATOR

SN: 10001-10864

1шт.

17

423-54-12790

INSULATOR

SN: 10001-10864

1шт.

18

01010-51225

BOLT

SN: 10001-10864

7шт.

19

01643-31232

WASHER

SN: 10001-10864

7шт.

20

425-54-12570

COVER

SN: 10001-@

1шт.

21

01010-50825

BOLT

SN: 10001-@

2шт.

22

01643-30823

WASHER

SN: 10001-@

2шт.

23

421-54-12215

SUPPORT

SN: 10001-10864

1шт.

24

01010-51270

BOLT

SN: 10001-10864

3шт.

25

01010-51245

BOLT

SN: 10001-10864

1шт.

26

01643-31232

WASHER

SN: 10001-10864

4шт.

27

421-54-12874

COVER

SN: 10001-10864

1шт.

28

421-54-12813

COVER

SN: 10001-@

1шт.

29

01010-50816

BOLT

SN: 10001-10864

14шт.

30

01643-30823

WASHER

SN: 10001-10864

14шт.

31

425-54-12871

COVER

SN: 10142-@

1шт.

|31

0

COVER

SN: 10001-10141

1шт.

32

421-54-12273

INSULATOR

SN: 10001-@

1шт.

33

01224-70616

SCREW

SN: 10445-10864

2шт.

|33

424-54-12540

SCREW

SN: 10028-10444

2шт.

|33

0

SCREW

SN: 10001-10027

2шт.

34

09415-02512

CAP

SN: 10001-@

1шт.

35

425-54-12831

MAT,FLOOR (WITH CAB)

SN: 10001-10864

1шт.

36

424-09-12610

COVER,(WITHOUT AIR CONDITIONER)

SN: 10001-@

4шт.

Выбрано товаров: 40