Запчасти Komatsu WA600-1 КОНСОЛЬН. БЛОК¤ ПРАВ. (С КАБИНОЙ)(№-8) РАМА И ЧАСТИ КОРПУСА

Схема запчастей Komatsu WA600-1 - КОНСОЛЬН. БЛОК¤ ПРАВ. (С КАБИНОЙ)(№-8) РАМА И ЧАСТИ КОРПУСА
FIT
1:1
100%

Артикул

Название

Примечание

Количество

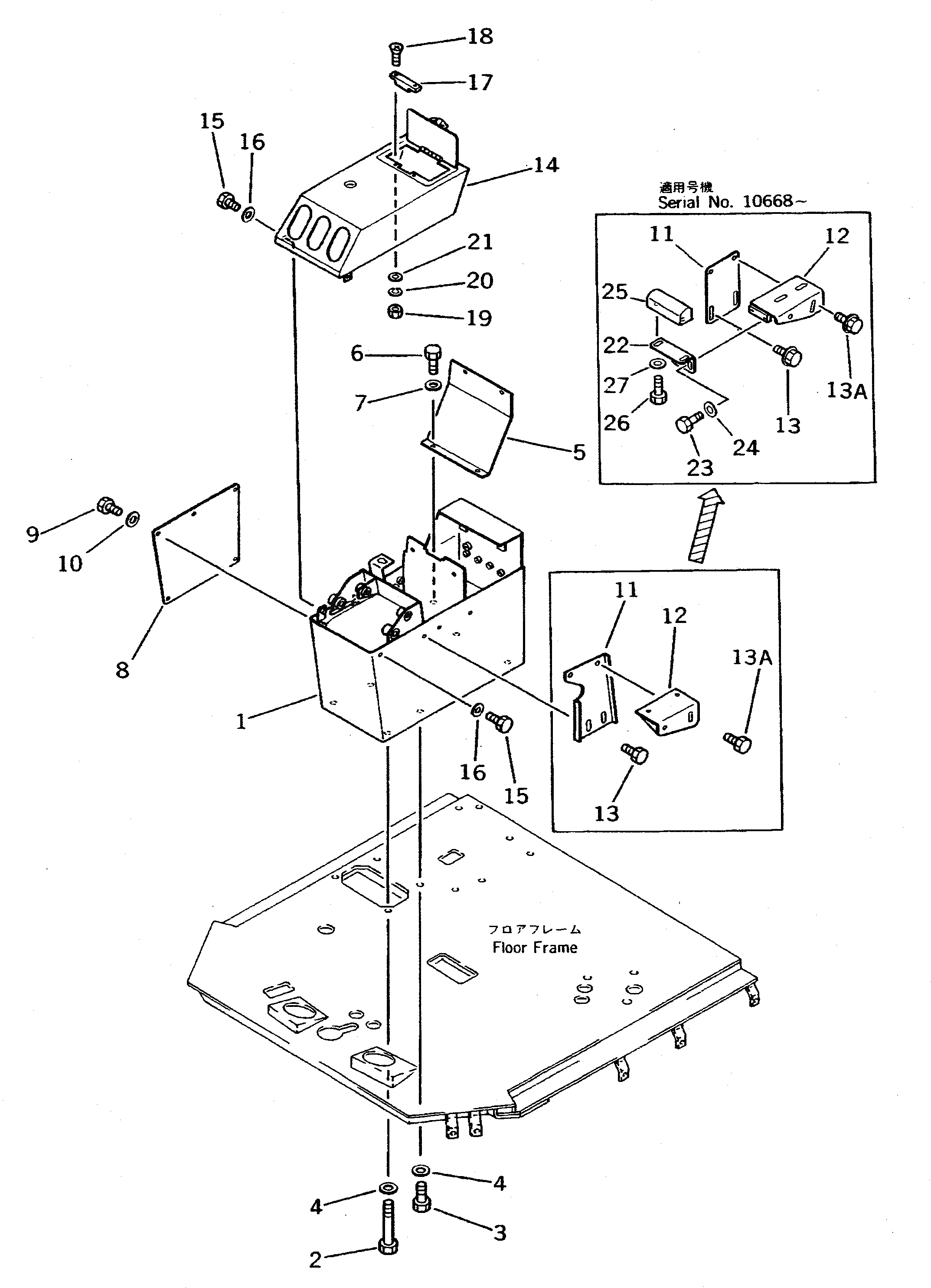
1

426-54-12730

BRACKET

SN: 10668-10864

1шт.

|1

426-54-12961

BRACKET

SN: 10001-10667

1шт.

2

01010-51275

BOLT

SN: 10001-10864

2шт.

3

01010-51225

BOLT

SN: 10001-10864

4шт.

4

01643-31232

WASHER

SN: 10001-10864

6шт.

5

425-54-12910

COVER

SN: 10001-10864

1шт.

6

01010-50612

BOLT

SN: 10001-10864

4шт.

7

01643-30623

WASHER

SN: 10001-10864

4шт.

8

425-54-12720

PLATE

SN: 10001-10864

1шт.

9

01010-80816

BOLT

SN: 10001-@

5шт.

10

01643-30823

WASHER

SN: 10001-@

5шт.

11

425-54-13620

PLATE

SN: 10668-10864

1шт.

|11

425-54-12691

PLATE

SN: 10001-10667

1шт.

12

425-54-12683

BRACKET

SN: 10668-10864

1шт.

|12

425-54-12680

BRACKET

SN: 10001-10667

1шт.

13

01435-01225

BOLT

SN: 10001-10864

2шт.

|13

0

BOLT

SN: (10001-10667)

2шт.

13A

01435-01230

BOLT

SN: 10668-10864

2шт.

|13A

0

BOLT

SN: (10001-10667)

2шт.

14

425-54-12842

BOX

SN: 10316-10864

1шт.

|14

0

BOX

SN: 10001-10315

1шт.

15

01010-50616

BOLT

SN: 10001-10864

4шт.

16

01643-30623

WASHER

SN: 10001-10864

4шт.

17

09452-06506

CATCHER

SN: 10001-@

1шт.

18

01224-40412

SCREW

SN: 10001-@

2шт.

19

01580-60403

NUT

SN: 10001-@

2шт.

20

01601-20410

WASHER,SPRING

SN: 10001-@

2шт.

21

01641-20405

WASHER

SN: 10001-@

2шт.

22

421-54-18560

PLATE

SN: 10668-@

1шт.

23

01010-50825

BOLT

SN: 10668-10864

2шт.

24

01643-30823

WASHER

SN: 10668-@

2шт.

25

421-54-18550

REST,ARM

SN: 10668-@

1шт.

26

01010-80820

BOLT

SN: 10668-@

2шт.

27

01643-30823

WASHER

SN: 10668-@

2шт.

Выбрано товаров: 34