Запчасти Komatsu WA600-1ПОЛ (С КАБИНОЙ)(№-8) РАМА И ЧАСТИ КОРПУСА

Схема запчастей Komatsu WA600-1 -  ПОЛ (С КАБИНОЙ)(№-8) РАМА И ЧАСТИ КОРПУСА
FIT
1:1
100%

Артикул

Название

Примечание

Количество

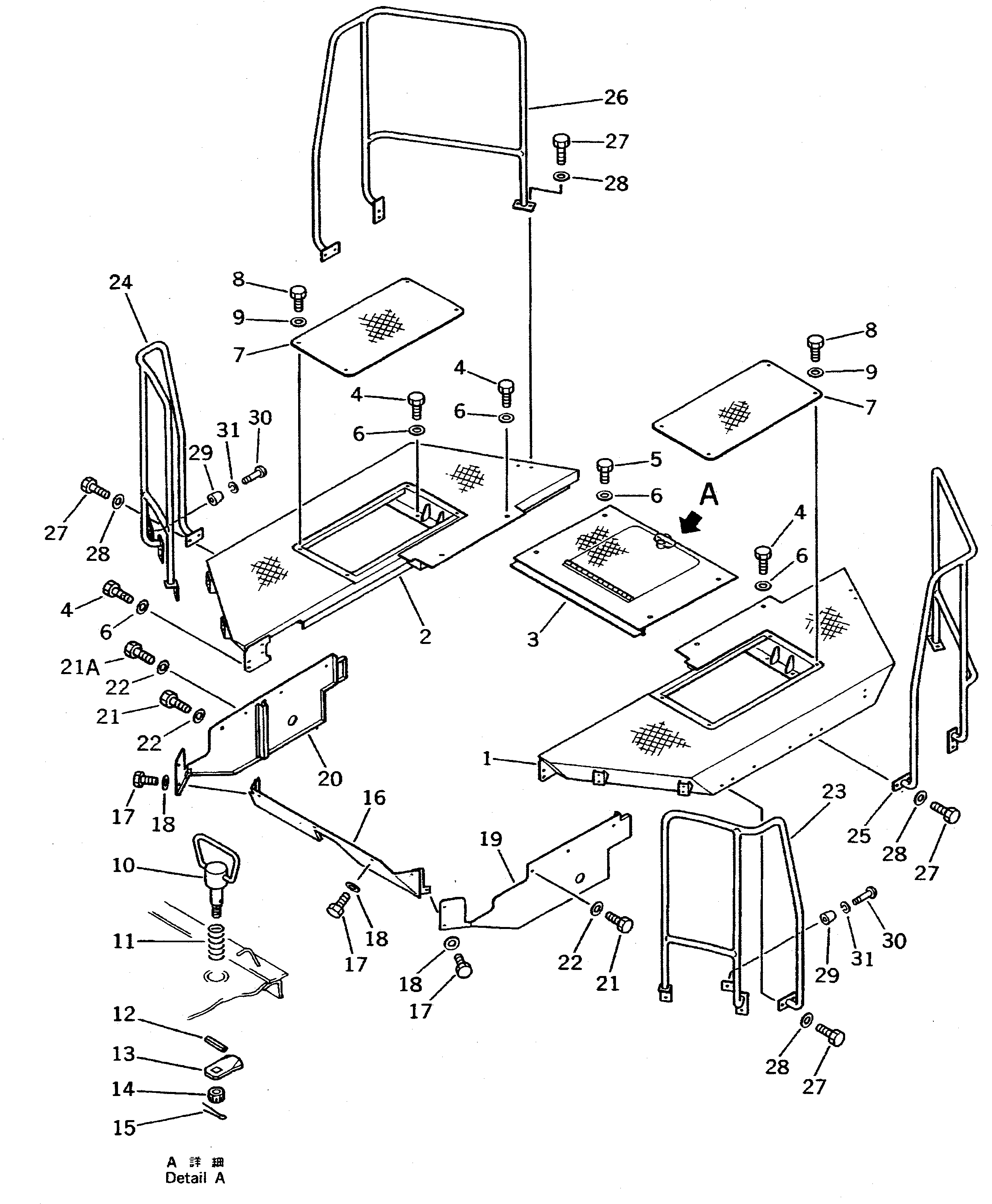
1

426-54-12314

FLOOR,L.H.

SN: 10382-10864

1шт.

|1

0

FLOOR,L.H.

SN: 10184-10381

1шт.

|1

0

FLOOR,L.H.

SN: 10001-10183

1шт.

2

426-54-12324

FLOOR,R.H.

SN: 10382-10864

1шт.

|2

0

FLOOR,R.H.

SN: 10184-10381

1шт.

|2

0

FLOOR,R.H.

SN: 10001-10183

1шт.

3

426-54-12332

FRAME,FLOOR

SN: 10001-@

1шт.

4

01010-81230

BOLT

SN: 10001-@

12шт.

5

01010-81225

BOLT

SN: 10001-@

4шт.

6

01643-31232

WASHER

SN: 10001-@

16шт.

7

426-54-12340

COVER

SN: 10001-@

2шт.

8

01010-81225

BOLT

SN: 10001-@

8шт.

9

01643-31232

WASHER

SN: 10001-@

8шт.

10

426-06-11261

HANDLE

SN: 10001-@

1шт.

11

09463-00003

SPRING

SN: 10001-@

1шт.

12

04025-00532

PIN,SPRING

SN: 10001-@

1шт.

13

426-06-11270

LOCK

SN: 10001-@

1шт.

14

01590-31215

NUT

SN: 10001-@

1шт.

15

04050-13020

PIN,COTTER

SN: 10001-@

1шт.

16

426-54-12222

COVER

SN: 10001-10864

1шт.

17

01010-81225

BOLT

SN: 10001-10864

7шт.

18

01643-31232

WASHER

SN: 10001-10864

7шт.

19

426-54-12233

COVER,L.H.

SN: 10001-10864

1шт.

20

426-54-12243

COVER,R.H.

SN: 10001-10864

1шт.

21

01010-81225

BOLT

SN: 10001-10864

9шт.

21A

01010-81245

BOLT

SN: 10861-10864

1шт.

|21A

01010-81225

BOLT

SN: 10001-10860

1шт.

22

01643-31232

WASHER

SN: 10001-10864

10шт.

23

426-54-12173

HANDLE,L.H.

SN: 10027-@

1шт.

|23

0

HANDLE,L.H.

SN: 10001-10026

1шт.

24

426-54-12183

HANDLE,R.H.

SN: 10027-@

1шт.

|24

0

HANDLE,R.H.

SN: 10001-10026

1шт.

25

426-54-12191

HANDLE,L.H.

SN: 10001-@

1шт.

26

426-54-12211

HANDLE,R.H.

SN: 10001-@

1шт.

27

01010-81230

BOLT

SN: 10015-@

24шт.

|27

01010-51235

BOLT

SN: 10001-10014

24шт.

28

01643-31232

WASHER

SN: 10001-@

24шт.

29

418-60-15150

STOPPER

SN: 10001-@

2шт.

30

01220-40625

SCREW

SN: 10001-@

2шт.

31

01602-20619

WASHER,SPRING

SN: 10001-@

2шт.

Выбрано товаров: 40