Запчасти Komatsu WA600-1 ЗАДН. СТУПЕНИ(№-7) РАМА И ЧАСТИ КОРПУСА

Схема запчастей Komatsu WA600-1 - ЗАДН. СТУПЕНИ(№-7) РАМА И ЧАСТИ КОРПУСА
FIT
1:1
100%

Артикул

Название

Примечание

Количество

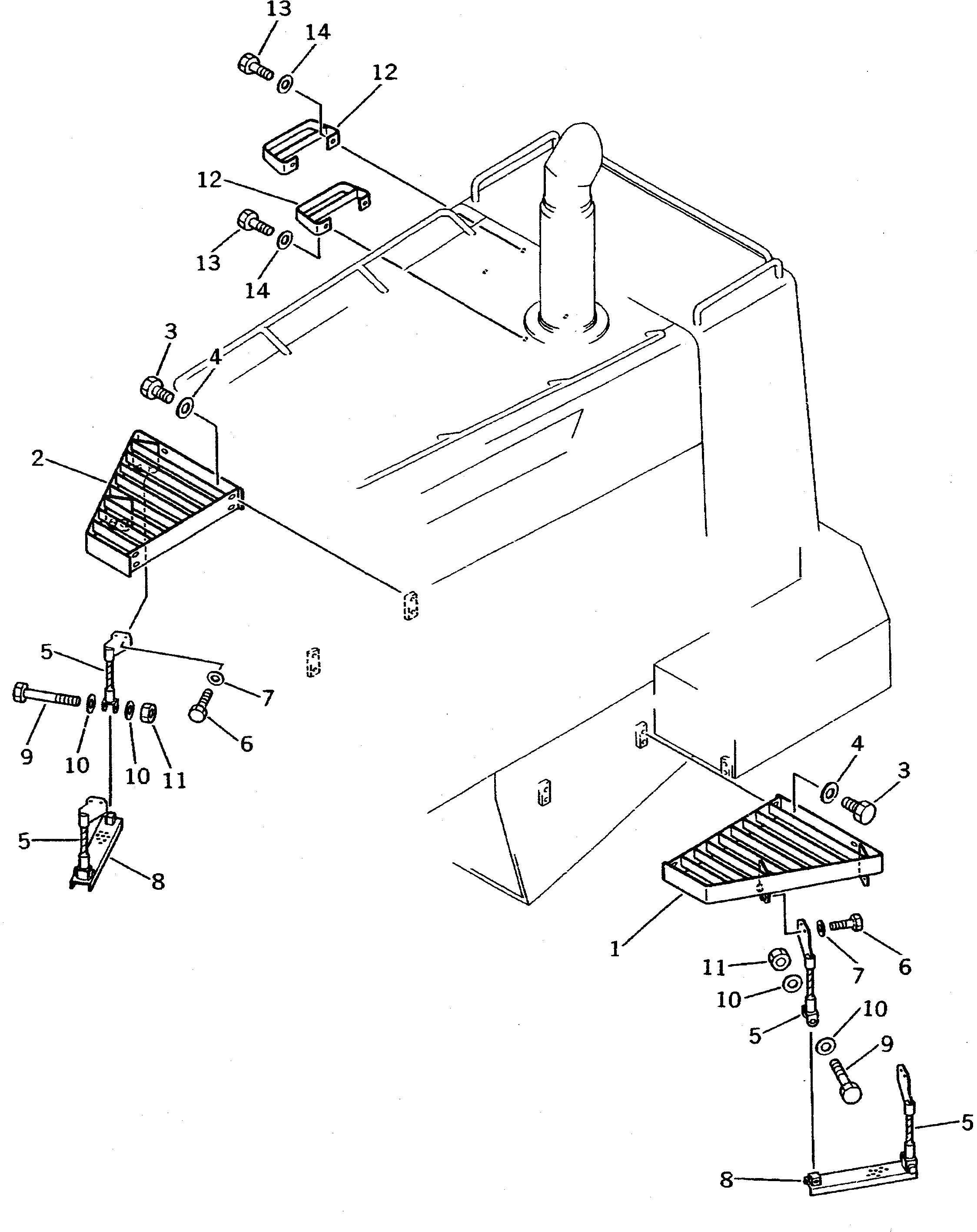
1

426-54-12672

STEP,L.H.

SN: 10001-11475

1шт.

2

426-54-12682

STEP,R.H.

SN: 10001-11475

1шт.

3

01010-81225

BOLT

SN: 10001-@

12шт.

4

01643-31232

WASHER

SN: 10001-@

12шт.

5

423-54-14260

ROPE

SN: 10245-11475

4шт.

|5

0

ROPE

SN: 10001-10244

4шт.

6

01010-81030

BOLT

SN: 10001-11475

8шт.

7

01643-31032

WASHER

SN: 10001-11475

8шт.

8

427-54-12151

STEP

SN: 10297-11475

2шт.

|8

0

STEP

SN: 10001-10296

2шт.

9

01010-81265

BOLT

SN: 10001-11475

4шт.

10

01643-31232

WASHER

SN: 10001-11475

8шт.

11

01596-01211

NUT,LOCK

SN: 10001-11475

4шт.

12

427-54-12160

STEP

SN: 10001-@

2шт.

13

01010-81230

BOLT

SN: 10001-@

4шт.

14

01643-31232

WASHER

SN: 10001-@

4шт.

Выбрано товаров: 16