Запчасти Komatsu WA600-1 КОНДИЦ. ВОЗДУХА (DENSO) (/)(№8-) РАМА И ЧАСТИ КОРПУСА

Схема запчастей Komatsu WA600-1 - КОНДИЦ. ВОЗДУХА (DENSO) (/)(№8-) РАМА И ЧАСТИ КОРПУСА
FIT
1:1
100%

Артикул

Название

Примечание

Количество

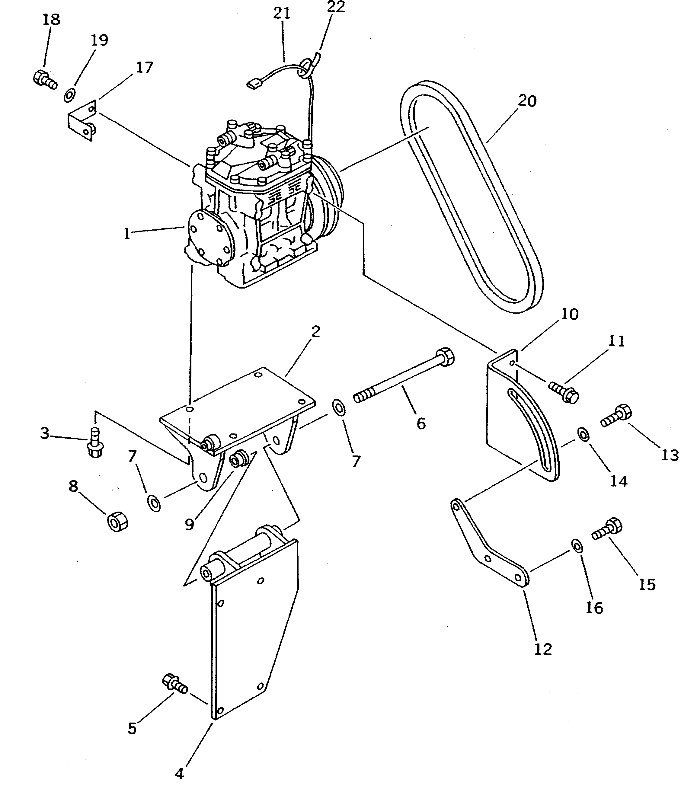
1

195-Z11-5300

COMPRESSOR ASS'Y

SN: 10343-11340

1шт.

2

426-963-1131

BRACKET

SN: 10865-11340

1шт.

3

01435-00830

BOLT

SN: 10865-11340

4шт.

4

426-963-1121

BRACKET

SN: 10865-@

1шт.

5

01435-01020

BOLT

SN: 10865-@

4шт.

6

6206-81-6920

BOLT

SN: .-@

1шт.

|6

01011-81255

BOLT

SN: 10865-.

1шт.

7

01643-31232

WASHER

SN: 10865-@

2шт.

8

01580-11210

NUT

SN: 10865-@

1шт.

9

419-07-11761

COLLAR

SN: .-@

1шт.

|9

419-07-11760

COLLAR

SN: 10865-.

1шт.

10

426-T46-1220

PLATE,ADJUST

SN: 10865-11340

1шт.

11

01435-00816

BOLT

SN: 10865-11340

2шт.

12

426-T46-1211

PLATE

SN: 10913-@

1шт.

|12

0

PLATE

SN: 10865-10912

1шт.

13

01010-81030

BOLT

SN: 10865-@

1шт.

14

01643-31032

WASHER

SN: 10865-@

1шт.

15

01010-61295

BOLT

SN: 10865-@

2шт.

16

01643-51232

WASHER

SN: 10865-@

2шт.

17

427-43-11370

BRACKET

SN: 10865-11340

1шт.

18

01010-80816

BOLT

SN: 10865-11340

1шт.

19

01643-30823

WASHER

SN: 10865-11340

1шт.

20

04120-21737

V-BELT

SN: 10343-11340

1шт.

21

425-963-1520

WIRING

SN: 10343-11109

1шт.

22

08034-00414

BAND

SN: 10343-@

1шт.

Выбрано товаров: 25