Запчасти Komatsu WA600-1 КОНДИЦ. ВОЗДУХА (DENSO) (/)(№-8) РАМА И ЧАСТИ КОРПУСА

Схема запчастей Komatsu WA600-1 - КОНДИЦ. ВОЗДУХА (DENSO) (/)(№-8) РАМА И ЧАСТИ КОРПУСА
FIT
1:1
100%

Артикул

Название

Примечание

Количество

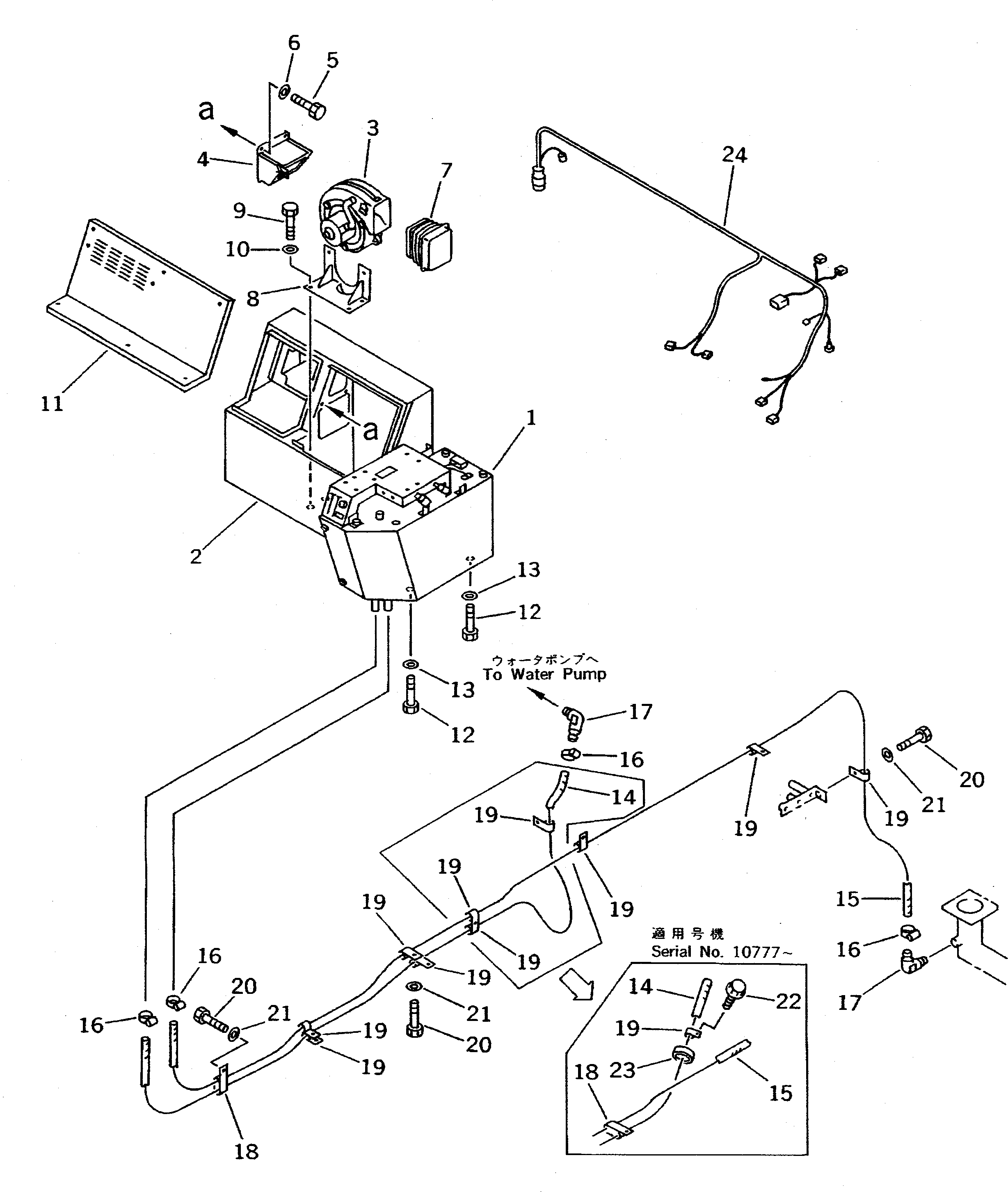
1

423-T43-1111

AIR CONDITIONER A.

SN: 10668-@

1шт.

|1

423-T43-1110

AIR CONDITIONER A.

SN: 10343-10667

1шт.

2

427-963-1260

BOX ASS'Y

SN: 10343-10864

1шт.

3

425-963-1160

BLOWER ASS'Y

SN: 10343-@

1шт.

4

425-963-1170

DAMPER ASS'Y

SN: 10343-@

1шт.

5

01010-50820

BOLT

SN: 10343-10864

2шт.

6

01643-30823

WASHER

SN: 10343-10864

2шт.

7

425-963-1180

DUCT

SN: 10343-@

1шт.

8

425-963-1210

BRACKET

SN: 10343-@

1шт.

9

01010-50820

BOLT

SN: 10343-10864

4шт.

10

01640-30823

WASHER

SN: 10343-10864

4шт.

11

425-54-12541

COVER

SN: 10343-10864

1шт.

12

01010-51225

BOLT

SN: 10343-10864

5шт.

13

01643-31232

WASHER

SN: 10343-10864

5шт.

14

09483-00530

HOSE

SN: 10343-@

1шт.

15

09483-00541

HOSE

SN: 10343-@

1шт.

16

07281-00259

CLAMP

SN: 10343-@

4шт.

17

6137-81-3221

ELBOW

SN: 10343-@

2шт.

18

421-07-11760

CLIP

SN: 10777-@

2шт.

|18

421-07-11760

CLIP

SN: 10343-10776

1шт.

19

08036-02514

CLIP

SN: 10777-@

8шт.

|19

08036-02514

CLIP

SN: 10343-10776

10шт.

20

01010-51020

BOLT

SN: 10343-@

7шт.

21

01643-31032

WASHER

SN: 10343-@

7шт.

22

01435-01016

BOLT

SN: 10777-@

1шт.

23

08037-03614

GROMMET

SN: 10777-@

1шт.

24

419-06-12930

WIRE ASS'Y

SN: 10668-@

1шт.

|24

425-963-1511

WIRE ASS'Y

SN: 10343-10667

1шт.

Выбрано товаров: 28