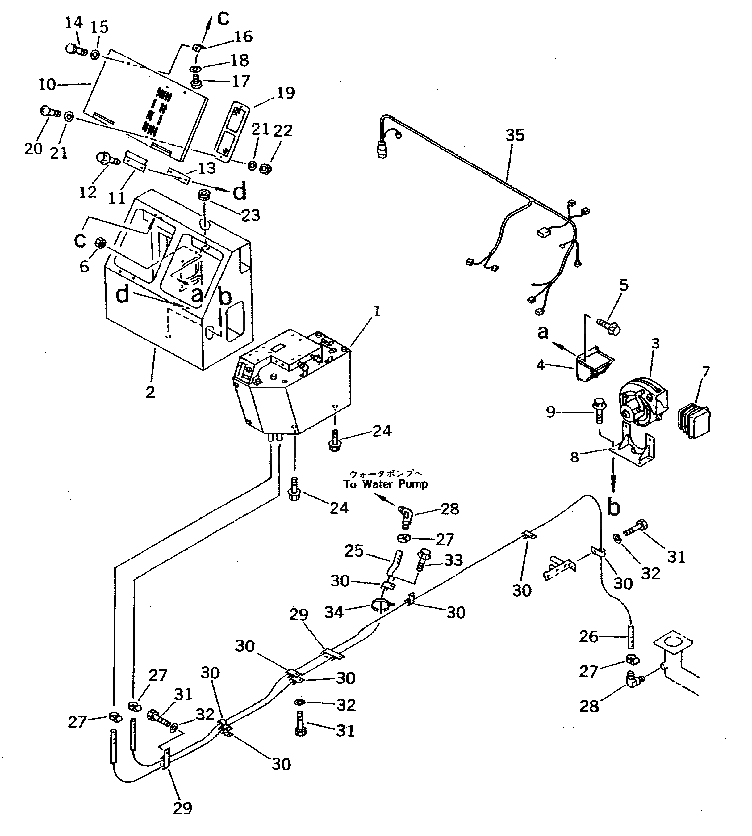
Запчасти Komatsu WA600-1 КОНДИЦ. ВОЗДУХА (DENSO) (/)(№8-) РАМА И ЧАСТИ КОРПУСА

Схема запчастей Komatsu WA600-1 - КОНДИЦ. ВОЗДУХА (DENSO) (/)(№8-) РАМА И ЧАСТИ КОРПУСА
FIT
1:1
100%

Артикул

Название

Примечание

Количество

1

426-T43-1110

AIR CONDITIONER A.,(R134A)

SN: 11341-UP

1шт.

|1

423-T43-1111

AIR CONDITIONER A.

SN: 10668-11340

1шт.

2

428-963-1253

BOX

SN: 11203-UP

1шт.

|2

428-963-1252

BOX

SN: 10865-11202

1шт.

|2

427-963-1310

INSULATOR

SN: 10865-UP

2шт.

3

425-963-1160

BLOWER ASS'Y

SN: 10343-UP

1шт.

4

425-963-1170

DAMPER ASS'Y

SN: 10343-UP

1шт.

5

01435-00816

BOLT

SN: 10865-UP

2шт.

6

01584-00806

NUT

SN: 10865-UP

2шт.

7

425-963-1180

DUCT

SN: 10343-UP

1шт.

8

425-963-1210

BRACKET

SN: 10343-UP

1шт.

9

01435-00816

BOLT

SN: 10865-UP

4шт.

10

421-T43-1390

COVER

SN: 10865-UP

1шт.

11

421-T43-1340

PLATE

SN: 10865-UP

2шт.

12

01435-00616

BOLT

SN: 10865-UP

4шт.

13

421-T43-1330

PLATE

SN: 10865-UP

2шт.

14

425-54-12960

SCREW

SN: 10865-UP

2шт.

15

01643-30623

WASHER

SN: 10865-UP

2шт.

16

421-T43-1350

PLATE

SN: 10865-UP

2шт.

17

01220-40308

SCREW

SN: 10865-UP

4шт.

18

01601-20307

WASHER,SPRING

SN: 10865-UP

4шт.

19

423-T43-1431

FILTER

SN: 11233-UP

1шт.

|19

423-T43-1430

FILTER

SN: 10865-11232

1шт.

20

01220-40820

SCREW

SN: 10865-UP

2шт.

21

01643-30823

WASHER

SN: 10865-UP

4шт.

22

01584-00806

NUT

SN: 10865-UP

2шт.

23

198-911-5420

GROMMET

SN: 10865-UP

1шт.

24

01435-01220

BOLT

SN: 10865-UP

7шт.

25

09483-00530

HOSE

SN: 10343-UP

1шт.

26

09483-00541

HOSE

SN: 10343-UP

1шт.

27

07280-02523

CLAMP

SN: 11312-UP

4шт.

|27

07281-00259

CLAMP

SN: 10343-11311

4шт.

28

6137-81-3221

ELBOW

SN: 10343-UP

2шт.

29

421-07-11760

CLIP

SN: 10777-UP

2шт.

30

08036-02514

CLIP

SN: 10777-UP

8шт.

31

01010-81020

BOLT

SN: 10343-UP

7шт.

32

01643-31032

WASHER

SN: 10343-UP

7шт.

33

01435-01016

BOLT

SN: 10777-UP

1шт.

34

08037-03614

GROMMET

SN: 10777-UP

1шт.

35

419-06-12930

WIRE ASS'Y

SN: 10668-UP

1шт.

Выбрано товаров: 40