Запчасти Komatsu WA600-1 ОТОПИТЕЛЬ (/) РАМА И ЧАСТИ КОРПУСА

Схема запчастей Komatsu WA600-1 - ОТОПИТЕЛЬ (/) РАМА И ЧАСТИ КОРПУСА
FIT
1:1
100%

Артикул

Название

Примечание

Количество

|1

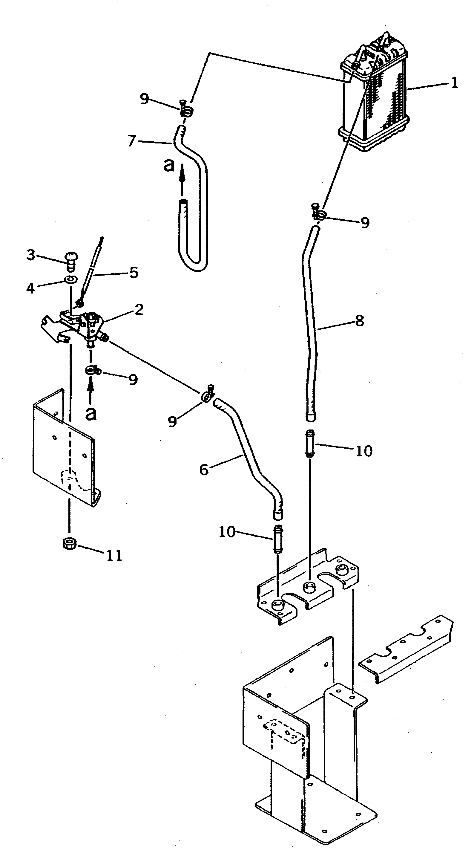
426-07-13100

CAR HEATER ASS'Y

SN: 10001-UP

1шт.

|$$2

THIS ASSEMBLY CONSISTS OF ALL PARTS SHOWN IN FIGS.5681 TO 5683.

-1шт.

1

425-07-11460

HEATER UNIT ASS'Y

SN: 10001-UP

1шт.

2

425-07-11470

VALVE,WATER

SN: 10001-UP

1шт.

3

01220-40510

SCREW

SN: 10001-UP

2шт.

4

01601-20513

WASHER,SPRING

SN: 10001-UP

2шт.

5

425-07-13120

WIRE

SN: 10001-UP

1шт.

6

425-07-13140

HOSE

SN: 10001-UP

1шт.

7

425-07-13150

HOSE

SN: 10001-UP

1шт.

8

425-07-13160

HOSE

SN: 10001-UP

1шт.

9

425-07-11650

CLAMP

SN: 10001-UP

4шт.

10

425-07-11590

CONNECTOR

SN: 10001-UP

2шт.

11

01580-10504

NUT

SN: 10001-UP

2шт.

Выбрано товаров: 13