Запчасти Komatsu WA600-1 ОТОПИТЕЛЬ (/) РАМА И ЧАСТИ КОРПУСА

Схема запчастей Komatsu WA600-1 - ОТОПИТЕЛЬ (/) РАМА И ЧАСТИ КОРПУСА
FIT
1:1
100%

Артикул

Название

Примечание

Количество

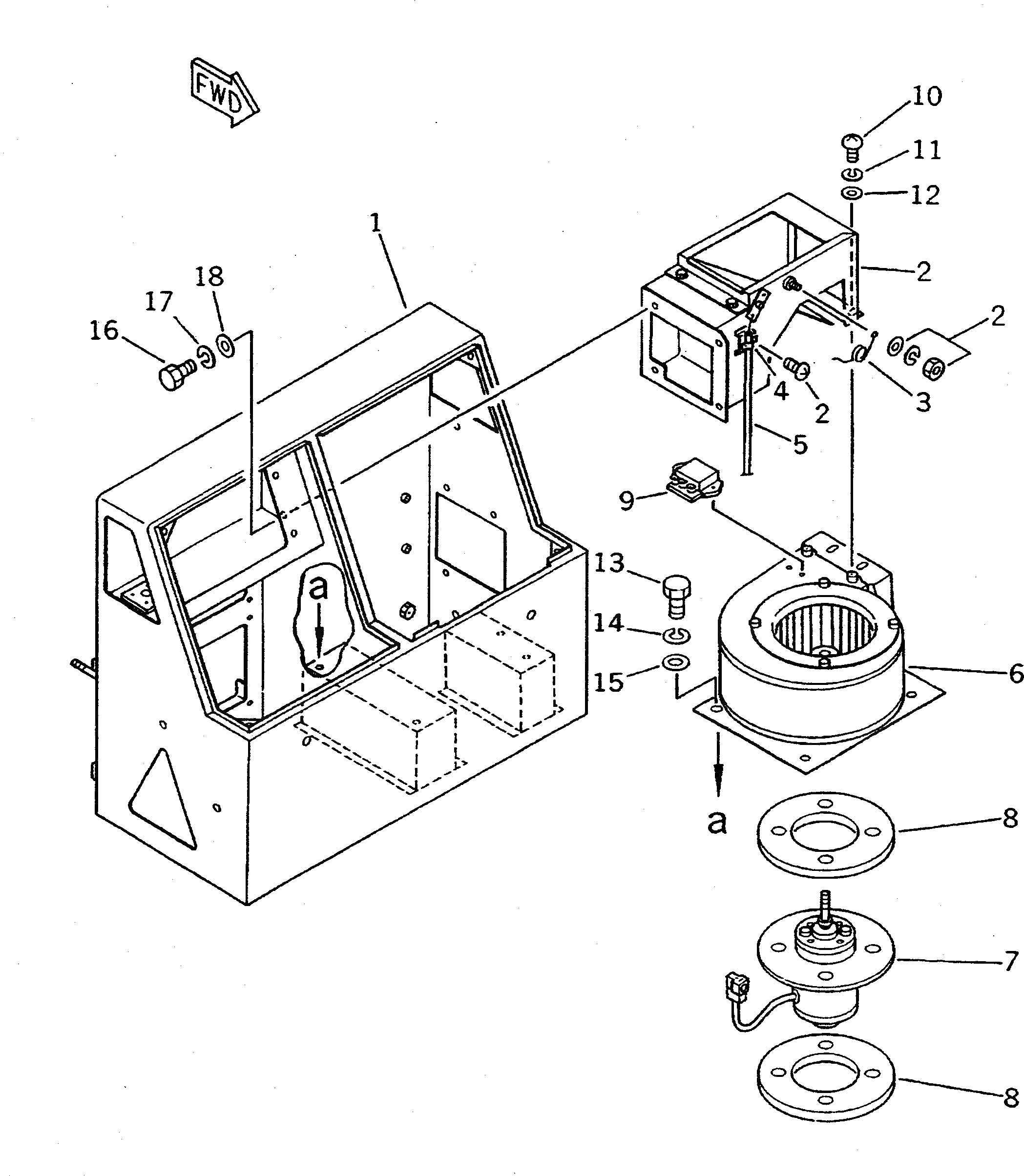
|1

426-07-13100

CAR HEATER ASS'Y

SN: 10001-UP

1шт.

|$$2

THIS ASSEMBLY CONSISTS OF ALL PARTS SHOWN IN FIGS.5681 TO 5683.

-1шт.

1

0

BOX

SN: 10001-UP

1шт.

2

425-07-11330

DAMPER ASS'Y

SN: 10001-UP

1шт.

3

425-07-11750

SPRING

SN: 10001-UP

1шт.

4

425-07-11760

CLIP

SN: 10001-UP

1шт.

5

425-07-11510

WIRE

SN: 10001-UP

1шт.

6

425-07-11390

BLOWER ASS'Y

SN: 10001-UP

1шт.

7

425-07-11810

MOTOR ASS'Y

SN: 10001-UP

1шт.

8

425-07-11820

RUBBER

SN: 10001-UP

2шт.

9

425-07-11830

RESISTOR ASS'Y

SN: 10001-UP

1шт.

10

01220-40508

SCREW

SN: 10001-UP

2шт.

11

01601-20513

WASHER,SPRING

SN: 10001-UP

2шт.

12

01642-20508

WASHER

SN: 10001-UP

2шт.

13

01010-51225

BOLT

SN: 10001-UP

4шт.

14

01602-21236

WASHER,SPRING

SN: 10001-UP

4шт.

15

01642-21216

WASHER

SN: 10001-UP

4шт.

16

01010-50816

BOLT

SN: 10001-UP

4шт.

17

01602-20825

WASHER,SPRING

SN: 10001-UP

4шт.

18

01642-20810

WASHER

SN: 10001-UP

4шт.

Выбрано товаров: 20