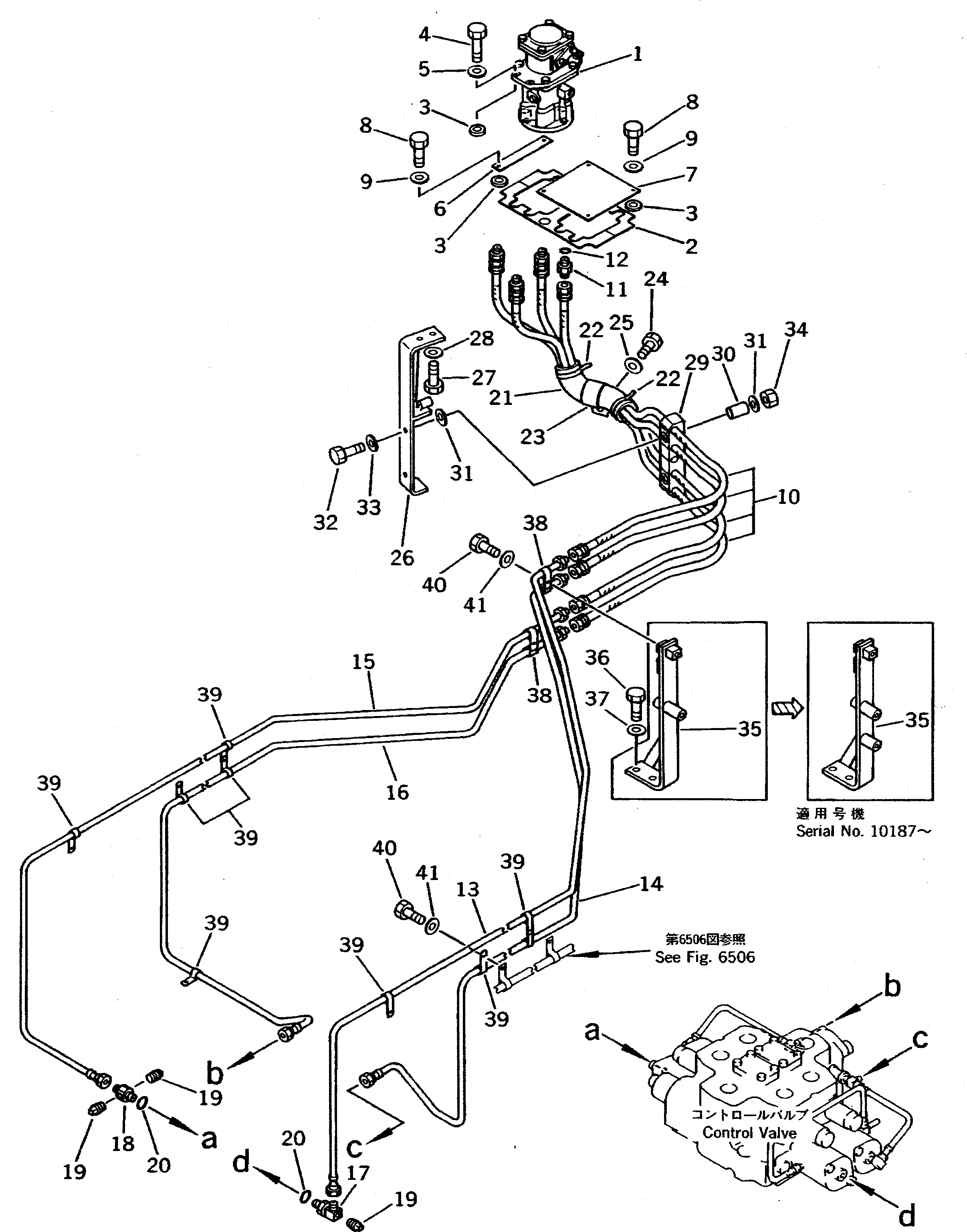
Запчасти Komatsu WA600-1 ГИДРОЛИНИЯ (P.O.C. КЛАПАН - УПРАВЛЯЮЩ. КЛАПАН) (/)(№-8) УПРАВЛ-Е РАБОЧИМ ОБОРУДОВАНИЕМ

Схема запчастей Komatsu WA600-1 - ГИДРОЛИНИЯ (P.O.C. КЛАПАН - УПРАВЛЯЮЩ. КЛАПАН) (/)(№-8) УПРАВЛ-Е РАБОЧИМ ОБОРУДОВАНИЕМ
FIT
1:1
100%

Артикул

Название

Примечание

Количество

1

702-16-18000

VALVE ASS'Y,P.O.C.

SN: 10187-10864

1шт.

|1

702-16-17001

VALVE ASS'Y,P.O.C.

SN: 10001-10186

1шт.

2

425-62-14280

SHEET

SN: 10001-10864

1шт.

3

209-62-11810

SPACER

SN: 10001-10864

10шт.

4

01010-50830

BOLT

SN: 10001-10864

4шт.

5

01643-30823

WASHER

SN: 10001-10864

4шт.

6

421-62-13930

PLATE

SN: 10001-10864

1шт.

7

425-62-13740

PLATE,(WITHOUT FRONT ATTACHMENT)

SN: 10001-10864

1шт.

8

01010-50825

BOLT

SN: 10001-10864

6шт.

9

01643-30823

WASHER

SN: 10001-10864

6шт.

10

07102-20211

HOSE

SN: 10001-10864

4шт.

11

07230-10210

UNION

SN: 10001-10864

4шт.

12

07002-11423

O-RING

SN: 10001-@

4шт.

13

426-62-11670

TUBE

SN: 10001-10864

1шт.

14

426-62-11680

TUBE

SN: 10001-10864

1шт.

15

426-62-11650

TUBE

SN: 10001-10864

1шт.

16

426-62-11660

TUBE

SN: 10001-10864

1шт.

17

426-62-13131

ELBOW

SN: 10079-10864

1шт.

|17

0

ELBOW

SN: 10001-10078

1шт.

18

426-62-13110

UNION

SN: 10001-10864

1шт.

19

07042-20108

PLUG

SN: 10001-@

3шт.

20

07002-11423

O-RING

SN: 10001-10864

2шт.

21

205-62-53780

COVER

SN: 10001-10864

1шт.

22

08034-00519

BAND

SN: 10001-@

2шт.

23

566-16-11560

CLIP

SN: 10001-10864

1шт.

24

01010-81020

BOLT

SN: 10001-@

1шт.

25

01643-31032

WASHER

SN: 10001-@

1шт.

26

426-62-11611

BRACKET

SN: 10001-10864

1шт.

27

01010-81020

BOLT

SN: 10001-@

2шт.

28

01643-31032

WASHER

SN: 10001-@

2шт.

29

421-62-14341

RUBBER

SN: 10001-10864

1шт.

30

421-62-14490

SPACER

SN: 10001-10864

2шт.

31

421-62-14740

WASHER

SN: 10001-10864

4шт.

32

01010-51045

BOLT

SN: 10001-10864

2шт.

33

01643-31032

WASHER

SN: 10001-@

2шт.

34

01580-11008

NUT

SN: 10001-10864

2шт.

35

426-62-11642

BRACKET

SN: 10187-10864

1шт.

|35

0

BRACKET

SN: 10001-10186

1шт.

36

01010-81225

BOLT

SN: 10001-@

2шт.

37

01643-31232

WASHER

SN: 10001-@

2шт.

38

176-43-54580

CLIP

SN: 10001-@

4шт.

39

424-04-11120

CLIP

SN: 10001-10864

9шт.

40

01010-81020

BOLT

SN: 10001-@

9шт.

41

01643-31032

WASHER

SN: 10001-@

9шт.

Выбрано товаров: 44