Запчасти Komatsu WA600-1 КЛАПАН УПРАВЛЕНИЯ ТРАНСМИССИЕЙ (/) ТРАНСМИССИЯ

Схема запчастей Komatsu WA600-1 - КЛАПАН УПРАВЛЕНИЯ ТРАНСМИССИЕЙ (/) ТРАНСМИССИЯ
FIT
1:1
100%

Артикул

Название

Примечание

Количество

|$$1

SERIAL NO. IN ( ) INDICATES TRANSMISSION SERIAL NO.

-1шт.

|1

426-15-00011

TRANSMISSION ASS'Y

SN: (3001)-UP

1шт.

|1

426-15-00020

TRANSMISSION ASS'Y

SN: (1973)-(3000)

1шт.

|1

426-15-00010

TRANSMISSION ASS'Y

SN: 10001-(1972)

1шт.

|$$5

THESE ASSEMBLIES CONSIST OF ALL PARTS SHOWN IN FIGS.2501 TO 2534.

-1шт.

|1

426-15-00302

CONTROL VALVE ASS'Y

SN: (1973)-UP

1шт.

|1

426-15-00301

CONTROL VALVE ASS'Y

SN: (1370)-(1972)

1шт.

|1

0

CONTROL VALVE ASS'Y

SN: 10001-(1369)

1шт.

|$$9

THESE ASSEMBLIES CONSIST OF ALL PARTS SHOWN IN FIGS.2531 TO 2534.

-1шт.

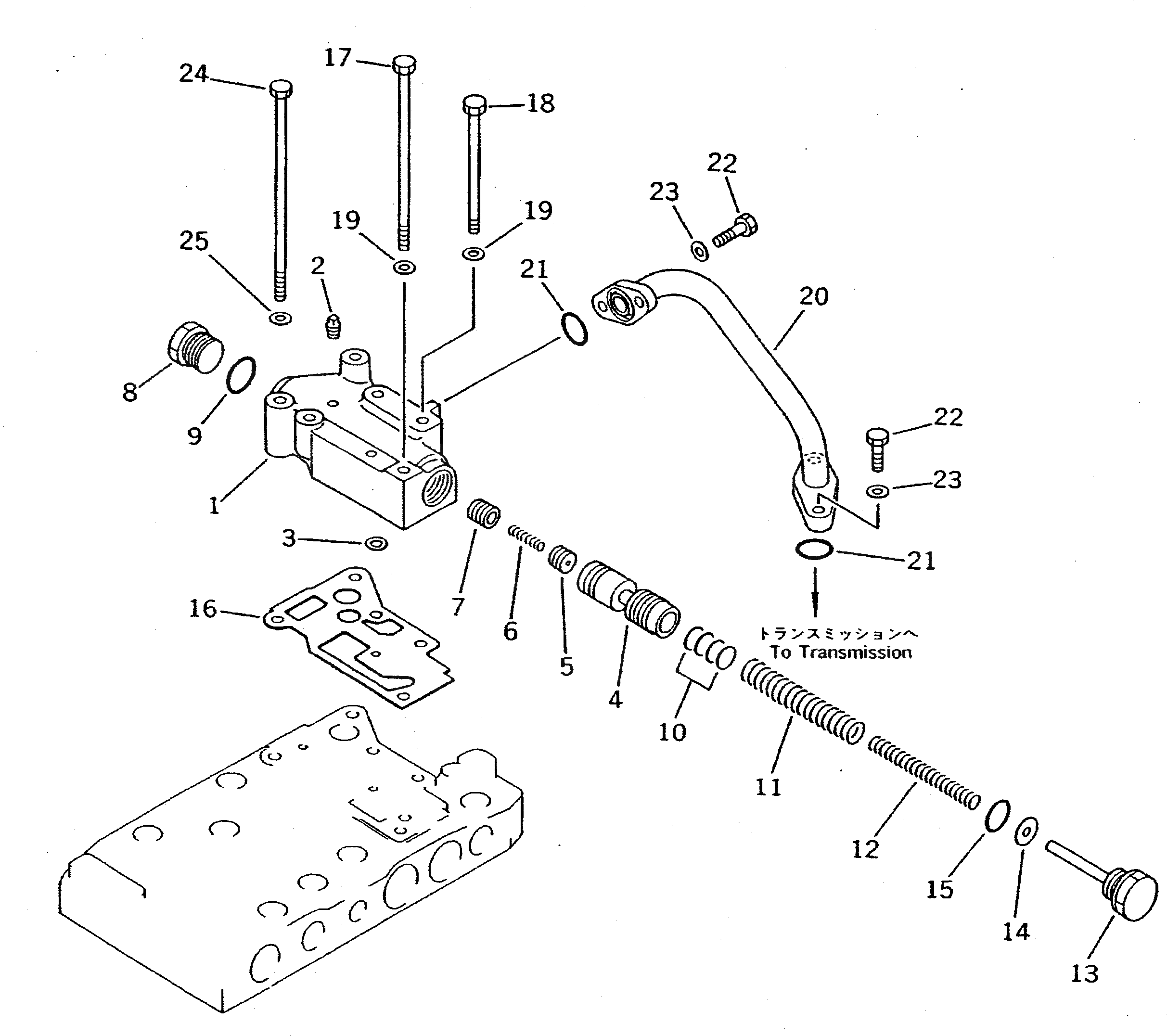
1

426-15-15150

BODY,VALVE

SN: 10001-UP

1шт.

2

07043-70108

PLUG

SN: 10001-UP

2шт.

3

426-15-15840

PLUG

SN: 10001-UP

1шт.

4

41E-15-15230

VALVE

SN: (3001)-UP

1шт.

|4

426-15-15230

VALVE

SN: 10001-(3000)

1шт.

5

426-15-15490

VALVE

SN: 10001-UP

1шт.

6

198-15-15770

SPRING¤ (L= 30.0)

SN: 10001-UP

1шт.

7

426-15-15480

VALVE

SN: 10001-UP

1шт.

8

426-15-15820

PLUG

SN: 10001-UP

1шт.

9

07002-03034

O-RING (K3)

SN: 10001-UP

1шт.

10

198-15-15570

SHIM¤ 0.50MM

SN: 10001-UP

4шт.

11

426-15-16251

SPRING¤ (L=122.0)

SN: 10001-UP

1шт.

12

426-15-16261

SPRING¤ (L=108.0)

SN: 10001-UP

1шт.

13

426-15-15810

PLUG

SN: 10001-UP

1шт.

14

22W-43-17330

WASHER

SN: 10001-UP

1шт.

15

07002-03034

O-RING (K3)

SN: 10001-UP

1шт.

16

426-15-15911

GASKET (K3)

SN: (1973)-UP

1шт.

|16

0

GASKET (K3)

SN: 10001-(1972)

1шт.

17

01011-81075

BOLT

SN: 10001-UP

1шт.

18

01011-81020

BOLT

SN: 10001-UP

1шт.

19

01643-31032

WASHER

SN: 10001-UP

2шт.

20

426-15-15891

TUBE

SN: 10001-UP

1шт.

21

07000-73025

O-RING (K3)

SN: 10001-UP

2шт.

22

01010-81040

BOLT

SN: 10001-UP

4шт.

23

01643-31032

WASHER

SN: 10001-UP

4шт.

24

426-15-16410

BOLT

SN: 10001-UP

3шт.

25

01643-31032

WASHER

SN: 10001-UP

3шт.

Выбрано товаров: 36