Запчасти Komatsu WA600-1L ТОПЛИВН. НАСОС СОЛЕНОИД E-

Схема запчастей Komatsu WA600-1L - ТОПЛИВН. НАСОС СОЛЕНОИД E-
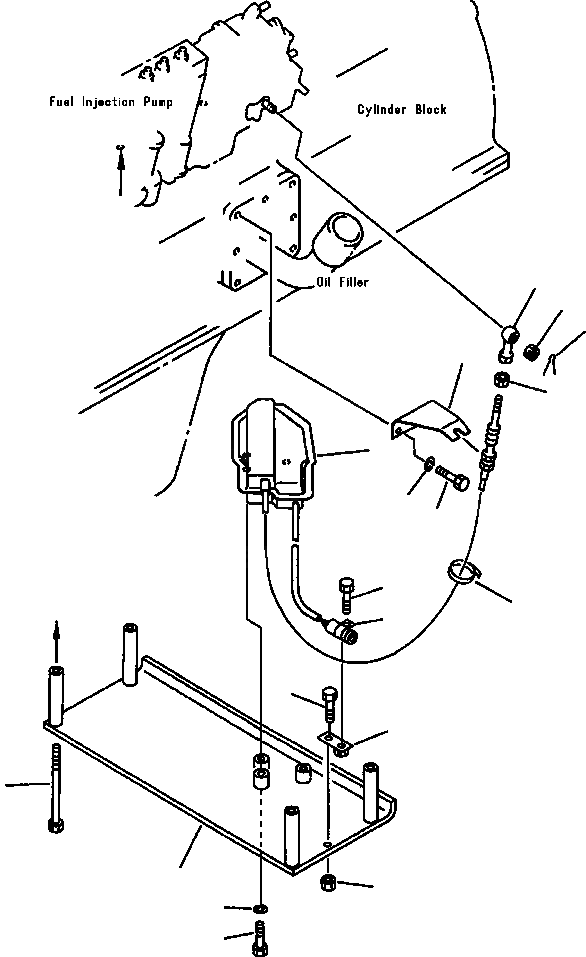
9
11
12
6
10
1
8
7
17
18
14
15
13
3
2
16
5
4
a
a
FIT
1:1
100%

Артикул

Название

Примечание

Количество

1

600-815-6670

MOTOR ASSEMBLY, ENGINE STOP

1шт.

2

6162-73-8871

BRACKET

1шт.

3

01011-31050

BOLT

4шт.

4

01010-30645

BOLT

3шт.

5

01602-00619

WASHER, LOCK

3шт.

6

6162-73-8880

BRACKET

1шт.

7

01010-31035

BOLT

2шт.

8

01602-01030

WASHER, LOCK

2шт.

9

04250-50639

END, ROD

1шт.

10

01580-00605

NUT

1шт.

11

01590-20607

NUT

1шт.

12

04050-01212

PIN, COTTER

1шт.

13

426-01-11310

BRACKET

1шт.

14

600-050-2920

CLIP

1шт.

15

01010-31016

BOLT

1шт.

16

01580-01008

NUT

1шт.

17

01010-31016

BOLT

1шт.

18

08034-00519

BAND

1шт.

Выбрано товаров: 18