Запчасти Komatsu WA600-1L ЗАДН. РАБОЧ. ОСВЕЩЕНИЕ -

Схема запчастей Komatsu WA600-1L - ЗАДН. РАБОЧ. ОСВЕЩЕНИЕ -
1
8
9
5
11
6
7
9
8
3
10
2
7
4
4
FIT
1:1
100%

Артикул

Название

Примечание

Количество

|$0

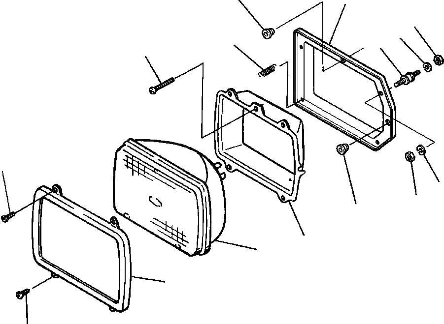
421-06-13202

LIGHT, REAR WORK

2шт.

1

NSS

HOUSING

1шт.

2

NSS

RING, RETAINING

1шт.

3

NSS

RING, MOUNTING

1шт.

4

NSS

GROMMET

2шт.

5

NSS

SPRING

1шт.

6

NSS

SCREW, ADJUSTING

2шт.

7

NSS

SCREW, MOUNTING

4шт.

8

NSS

NUT, MOUNTING

8шт.

9

NSS

WASHER, MOUNTING

8шт.

10

22W-06-12170M

BULB - 70W

1шт.

11

421-06-13120

CUSHION

4шт.

Выбрано товаров: 0