Запчасти Komatsu WA600-1LC ТЕРМОСТАТ СИСТЕМА ОХЛАЖДЕНИЯ

Схема запчастей Komatsu WA600-1LC - ТЕРМОСТАТ СИСТЕМА ОХЛАЖДЕНИЯ
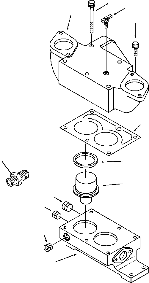
7
1
10
6
9
11
2
3
5
4
4
8
FIT
1:1
100%

Артикул

Название

Примечание

Количество

1

1238 131 H1

DRAINCOCK

1шт.

2

1238 500 H1

SEAL, THERMOSTAT

2шт.

3

1238 601 H2

THERMOSTAT

2шт.

4

1239 159 H1

PLUG, PIPE

3шт.

5

1239 160 H1

PLUG, PIPE

2шт.

6

140 483 H

BOLT, W/WASHER - 3/8-16 X 1 1/4

1шт.

7

1239 213 H1

BOLT, W/WASHER - 3/8-16 X 3 3/4

5шт.

8

1241 324 H1

SUPPORT, THERMOSTAT HOUSING

1шт.

9

1239 224 H1

GASKET, THERMOSTAT HOUSING

1шт.

10

1239 229 H1

HOUSING, THERMOSTAT

1шт.

11

1238 310 H1

CONNECTION, VENT

1шт.

Выбрано товаров: 11