Запчасти Komatsu WA600-1LE ОСНОВН. КОНСТРУКЦИЯ И ПРИБОРНАЯ ПАНЕЛЬ РАМА, ЧАСТИ КОРПУСА & SUPERSTRUCTURE

Схема запчастей Komatsu WA600-1LE - ОСНОВН. КОНСТРУКЦИЯ И ПРИБОРНАЯ ПАНЕЛЬ РАМА, ЧАСТИ КОРПУСА & SUPERSTRUCTURE
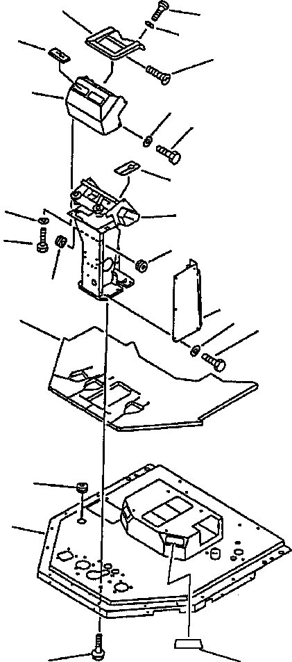
11
17
18
19
13
8
10
9
12
10
3
9
15
14
5
16
7
6
2
1
19
4
FIT
1:1
100%

Артикул

Название

Примечание

Количество

1

427-54-13810

FLOOR ASSEMBLY

1шт.

2

09415-03614

CAP

1шт.

3

426-54-A3660

SUPPORT

1шт.

|$3

426-S99-1210

SUPPORT

1шт.

4

01435-01230

BOLT

5шт.

5

426-54-A2150

COVER

1шт.

6

01010-60816

BOLT

8шт.

7

01643-30823

WASHER

8шт.

8

421-54-12813

COVER

1шт.

9

01010-60816

BOLT

4шт.

10

01643-30823

WASHER

4шт.

11

425-54-12871

COVER

1шт.

12

421-54-12273

INSULATOR

1шт.

13

01224-70620

SCREW

2шт.

14

09415-02512

CAP

1шт.

15

09415-00706

CAP

2шт.

16

421-925-AA20

MAT, FLOOR (FOR MACHINES WITH CAB)

1шт.

17

01220-40816

SCREW

2шт.

18

01643-30823

WASHER

2шт.

19

421-07-12512

COVER (FOR MACHINES WITHOUT AIR CONDITIONER)

6шт.

|$$21

-1шт.

|$21

F1 - FOR MACHINES W/O ELECTRONICALLY

-1шт.

|$22

CONTROLLED SUSPENSION SYSTEM

-1шт.

|$$24

-1шт.

|$24

F2 - FOR MACHINES W/ ELECTRONICALLY

-1шт.

|$25

CONTROLLED SUSPENSION SYSTEM

-1шт.

Выбрано товаров: 26