Качественные детали и логистика
Оригинальные и аналоговые запчасти с доставкой по России, Казахстану и Беларуси
©2022 PartSell ООО "Система" ИНН 2463123282 ОГРН 1212400004838
Центральный офис: г. Красноярск, Академика Киренского, д.87, пом.4
Телефон: 8 (800) 777-65-74 Email: zakaz@partsell.ru
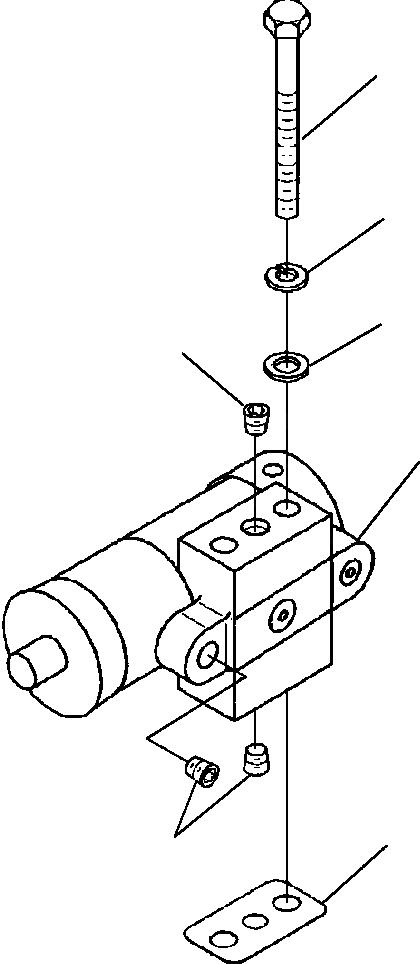
КОМПРЕССОР РЕГУЛЯТОР
№
Артикул
Название
Примечание
Количество
1
1238 067 H1
BOLT (5/16 - 18x3 INCH)
2шт.
2
1238 101 H1
WASHER, LOCK
3
1238 235 H1
WASHER, PLAIN
4
1238 479 H1
GOVERNOR, AIR COMPRESSOR
1шт.
5
1238 499 H1
GASKET, AIR COMPRESSOR
6
1240 101 H1
PLUG, PIPE
4шт.
Выбрано товаров: 0