Запчасти Komatsu WA600-3 H-A ОТСЕКАЮЩИЙ КЛАПАН ASSEMBLY КРЕПЛЕНИЕ ГИДРАВЛИКА

Схема запчастей Komatsu WA600-3 - H-A ОТСЕКАЮЩИЙ КЛАПАН ASSEMBLY КРЕПЛЕНИЕ ГИДРАВЛИКА
6
8
5
2
7
8
1
5
3
2
4
5
9
10
3
4
5
9
FIT
1:1
100%

Артикул

Название

Примечание

Количество

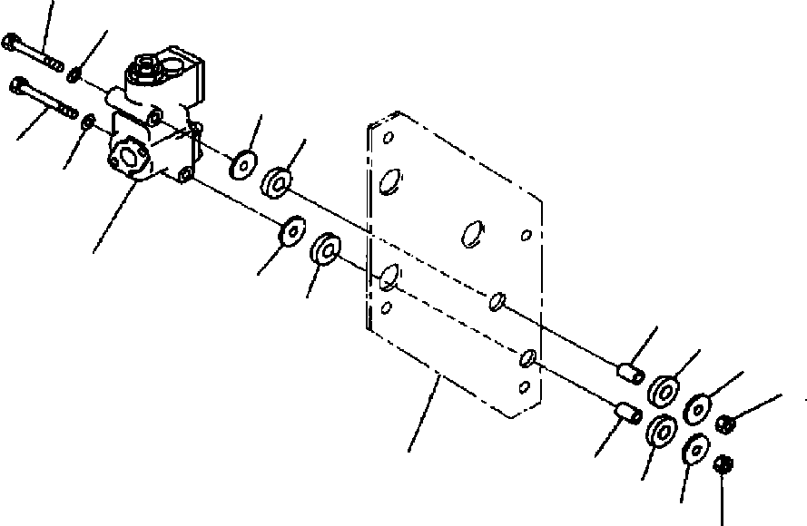
1

VALVE ASSEMBLY, CUT-OFF (SEE FIG. H0120-04A0)

SN: A52001--UP

-1шт.

2

415-64-13130

CUSHION

SN: A52001--UP

2шт.

3

421-62-18560

SPACER

SN: A52001--UP

2шт.

4

419-43-17930

CUSHION

SN: A52001--UP

2шт.

5

415-64-13120

WASHER

SN: A52001--UP

4шт.

6

01011-81020

BOLT

SN: A52001--UP

1шт.

7

01011-81035

BOLT

SN: A52001--UP

1шт.

8

01643-31032

WASHER

SN: A52001--UP

2шт.

9

01596-01009

NUT

SN: A52001--UP

2шт.

10

BRACKET (SEE FIG. H0122-01A0)

SN: A52001--UP

-1шт.

Выбрано товаров: 10