Запчасти Komatsu WA600-3 T-B V-ОБРАЗН КОВШ, . CU. M. БЕЗ TEETH РАБОЧЕЕ ОБОРУДОВАНИЕ

Схема запчастей Komatsu WA600-3 - T-B V-ОБРАЗН КОВШ, . CU. M. БЕЗ TEETH РАБОЧЕЕ ОБОРУДОВАНИЕ
5
8
7
4
3
8
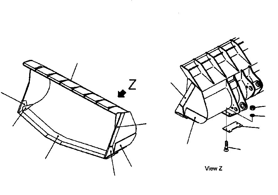
1
10
9
2
6
9
7
FIT
1:1
100%

Артикул

Название

Примечание

Количество

|$0

426-809-2400

BUCKET ASSEMBLY, 6.0 CU. M. (SPADE NOSE)

SN: A52001--UP

1шт.

1

426-70-12142

PLATE

SN: A52001--UP

2шт.

2

02090-11475

BOLT

SN: A52001--UP

8шт.

3

01643-32460

WASHER

SN: A52001--UP

8шт.

4

02290-11422

NUT

SN: A52001--UP

8шт.

|$5

426-809-2410

BUCKET

SN: A52001--UP

1шт.

5

426-809-2210

BUCKET

SN: A52001--UP

1шт.

6

426-V65-1120

EDGE (WELDED)

SN: A52001--UP

1шт.

7

426-70-22150

PLATE (WELDED)

SN: A52001--UP

2шт.

8

426-70-22160

PLATE (WELDED)

SN: A52001--UP

2шт.

9

426-70-22250

PLATE (WELDED)

SN: A52001--UP

2шт.

10

426-809-1320

GUSSET (WELDED)

SN: A52001--UP

2шт.

Выбрано товаров: 12