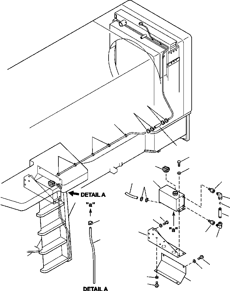
Запчасти Komatsu WA600-3 C-8A РАДИАТОР ХЛАДАГЕНТ РЕЗЕРВУАР И ТРУБЫ СИСТЕМА ОХЛАЖДЕНИЯ

Схема запчастей Komatsu WA600-3 - C-8A РАДИАТОР ХЛАДАГЕНТ РЕЗЕРВУАР И ТРУБЫ СИСТЕМА ОХЛАЖДЕНИЯ
13
13
18
18
14
18
5
11
6
4
7
12
13
8
9
2
3
10
19
1
7
20
8
16
17
17
15
16
FIT
1:1
100%

Артикул

Название

Примечание

Количество

1

426-Z84-3831

BRACKET

SN: A52001--UP

1шт.

2

01435-01225

BOLT

SN: A52001--UP

4шт.

3

01643-31232

WASHER

SN: A52001--UP

12шт.

4

426-Z84-3880

RESERVOIR, COOLANT

SN: A52001--UP

1шт.

5

01435-01225

BOLT

SN: A52001--UP

4шт.

6

01643-31232

WASHER

SN: A52001--UP

4шт.

7

582-01-12910

NIPPLE

SN: A52001--UP

2шт.

8

208-04-19130

ELBOW

SN: A52001--UP

2шт.

9

208-04-19160

BALL, FLOAT

SN: A52001--UP

1шт.

10

569-03-61940

TUBE

SN: A52001--UP

1шт.

11

07053-10000

CAP

SN: A52001--UP

1шт.

12

426-Z84-3850

HOSE

SN: A52001--UP

1шт.

13

07281-10137

CLAMP

SN: A52001--UP

6шт.

14

426-Z84-3870

JOINT

SN: A52001--UP

1шт.

15

426-Z84-3841

COVER

SN: A52001--UP

1шт.

16

01435-01020

BOLT

SN: A52001--UP

4шт.

17

01643-31032

WASHER

SN: A52001--UP

4шт.

18

08034-20536

BAND

SN: A52001--UP

5шт.

19

206-03-43340

CLAMP

SN: A52001--UP

1шт.

20

426-Z84-3860

HOSE

SN: A52001--UP

1шт.

Выбрано товаров: 20