Запчасти Komatsu WA600-3D РАДИАТОР (ЭЛЕМЕНТЫ КРЕПЛЕНИЯ И ДАТЧИК УРОВНЯ ВОДЫ)(№-) СИСТЕМА ОХЛАЖДЕНИЯ

Схема запчастей Komatsu WA600-3D - РАДИАТОР (ЭЛЕМЕНТЫ КРЕПЛЕНИЯ И ДАТЧИК УРОВНЯ ВОДЫ)(№-) СИСТЕМА ОХЛАЖДЕНИЯ
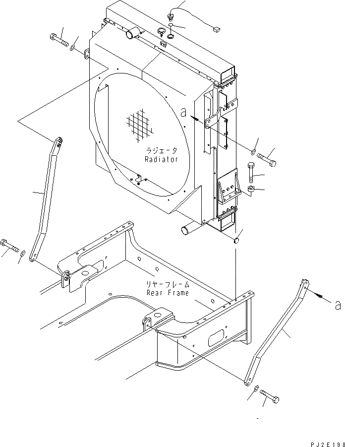
1
2
3
4
4
5
5
5
5
6
6
6
6
7
8
FIT
1:1
100%

Артикул

Название

Примечание

Количество

1

09415-02512

CAP

SN: 50115-UP

2шт.

2

01010-61660

BOLT

SN: .-UP

6шт.

2

01010-31660

BOLT

SN: 50115-.

6шт.

3

207-26-11490

COLLAR

SN: 50115-UP

6шт.

4

426-03-21461

STAY

SN: 53001-UP

2шт.

5

01010-61670

BOLT

SN: 53001-UP

8шт.

6

01643-31645

WASHER

SN: 53001-UP

8шт.

7

7861-92-4500

SENSOR,WATER LEVEL

SN: 50115-UP

1шт.

8

07002-23634

O-RING

SN: 50115-UP

1шт.

Выбрано товаров: 9