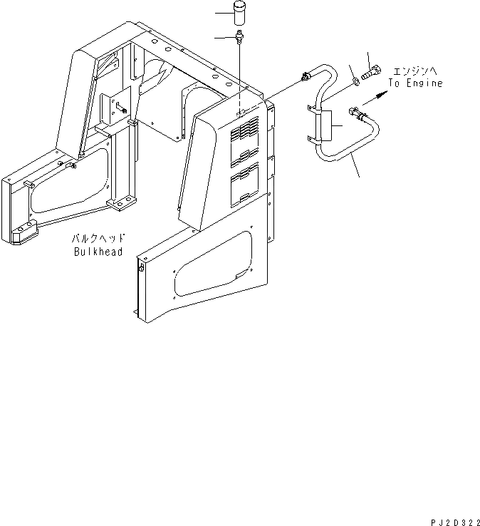
Запчасти Komatsu WA600-3D ОТСЕК ДВИГАТЕЛЯ(INGICATEOR)(№-) ЧАСТИ КОРПУСА

Схема запчастей Komatsu WA600-3D - ОТСЕК ДВИГАТЕЛЯ(INGICATEOR)(№-) ЧАСТИ КОРПУСА
1
2
3
4
5
6
FIT
1:1
100%

Артикул

Название

Примечание

Количество

1

56B-02-12310

INDICATOR

SN: 52001-UP

1шт.

2

08670-22001

INDICATOR

SN: 52001-UP

1шт.

3

08671-50110

HOSE

SN: 52001-UP

1шт.

4

04434-51410

CLIP

SN: 52001-UP

2шт.

5

01010-81016

BOLT

SN: 52001-UP

2шт.

6

01643-31032

WASHER

SN: 52001-UP

2шт.

Выбрано товаров: 6