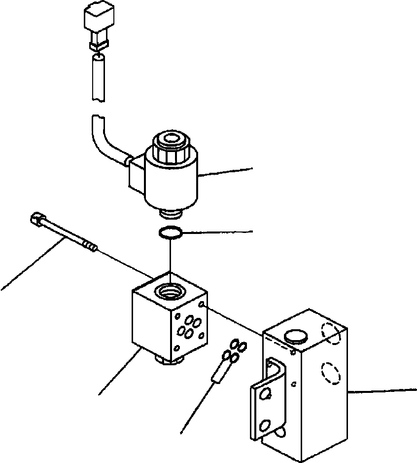
Запчасти Komatsu WA600-3LK FIG. K-A УПРАВЛ-Е ТОРМОЗОМ - СОЛЕНОИДНЫЙ КЛАПАН КАБИНА ОПЕРАТОРА И СИСТЕМА УПРАВЛЕНИЯ

Схема запчастей Komatsu WA600-3LK - FIG. K-A УПРАВЛ-Е ТОРМОЗОМ - СОЛЕНОИДНЫЙ КЛАПАН КАБИНА ОПЕРАТОРА И СИСТЕМА УПРАВЛЕНИЯ
2
3
6
5
1
4
FIT
1:1
100%

Артикул

Название

Примечание

Количество

|$0

426-43-27301

VALVE ASSEMBLY, SOLENOID

SN: A53001--UP

1шт.

1

23W-60-28230

VALVE ASSEMBLY

SN: A53001--UP

1шт.

2

22T-60-13610

SOLENOID ASSEMBLY

SN: A53001--UP

1шт.

3

07000-12018

O-RING

SN: A53001--UP

1шт.

4

07000-11009

O-RING

SN: A53001--UP

4шт.

5

426-43-27131

BLOCK

SN: A53001--UP

1шт.

6

01252-40545

BOLT

SN: A53001--UP

4шт.

Выбрано товаров: 7