Запчасти Komatsu WA600-6 COMPO КОРПУС (МАСЛЯНЫЙ ФИЛЬТР ТРАНСМИССИИ ТРУБЫ)(№-) КАБИНА ОПЕРАТОРА И СИСТЕМА УПРАВЛЕНИЯ

Схема запчастей Komatsu WA600-6 - COMPO КОРПУС (МАСЛЯНЫЙ ФИЛЬТР ТРАНСМИССИИ ТРУБЫ)(№-) КАБИНА ОПЕРАТОРА И СИСТЕМА УПРАВЛЕНИЯ
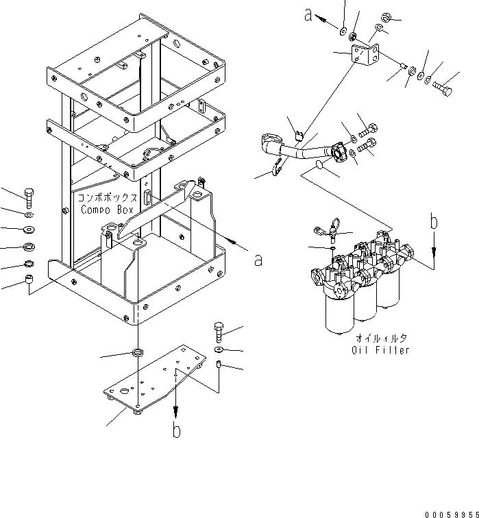
1
2
3
4
5
5
6
6
7
8
9
10
11
11
12
13
14
15
16
17
18
19
20
21
21
22
23
24
25
26
27
FIT
1:1
100%

Артикул

Название

Примечание

Количество

1

7861-92-1950

SENSOR

SN: 60001-UP

1шт.

2

425-16-11230

WASHER

SN: 60001-UP

1шт.

3

426-16-31840

TUBE

SN: 60113-UP

1шт.

4

07000-B3042

O-RING

SN: 60001-UP

1шт.

5

01010-81070

BOLT

SN: 60113-UP

4шт.

6

01643-31032

WASHER

SN: 60113-UP

4шт.

7

426-16-31231

PLATE

SN: 60001-UP

1шт.

8

419-43-17930

CUSHION

SN: 60001-UP

2шт.

9

421-62-18560

SPACER

SN: 60001-UP

2шт.

10

415-64-13130

CUSHION

SN: 60001-UP

2шт.

11

415-64-13120

WASHER

SN: 60001-UP

4шт.

12

01010-81050

BOLT

SN: 60001-UP

2шт.

13

01643-31032

WASHER

SN: 60001-UP

2шт.

14

07283-34354

CLIP

SN: 60001-UP

1шт.

15

07283-54353

SEAT

SN: 60001-UP

1шт.

16

01643-31032

WASHER

SN: 60001-UP

2шт.

17

01597-01009

NUT

SN: 60001-UP

2шт.

18

01010-81665

BOLT

SN: 60113-UP

4шт.

19

01643-31645

WASHER

SN: 60113-UP

4шт.

20

421-70-11280

WASHER

SN: 60113-UP

4шт.

21

421-64-23120

CUSHION

SN: 60113-UP

8шт.

22

421-64-23130

CUSHION

SN: 60113-UP

4шт.

23

421-64-23140

SPACER

SN: 60113-UP

4шт.

24

426-43-39191

PLATE

SN: 60113-UP

1шт.

25

01010-81045

BOLT

SN: 60113-UP

8шт.

26

01643-31032

WASHER

SN: 60113-UP

8шт.

27

195-03-41520

COLLAR

SN: 60113-UP

8шт.

Выбрано товаров: 27