Запчасти Komatsu WA600-6 КАБИНА, КОНДИЦ. ВОЗДУХА ВОЗДУХОВОДЫ (№8-) КАБИНА, С РУЛЕВОЕ КОЛЕСО

Схема запчастей Komatsu WA600-6 - КАБИНА, КОНДИЦ. ВОЗДУХА ВОЗДУХОВОДЫ (№8-) КАБИНА, С РУЛЕВОЕ КОЛЕСО
13
14
17
23
25
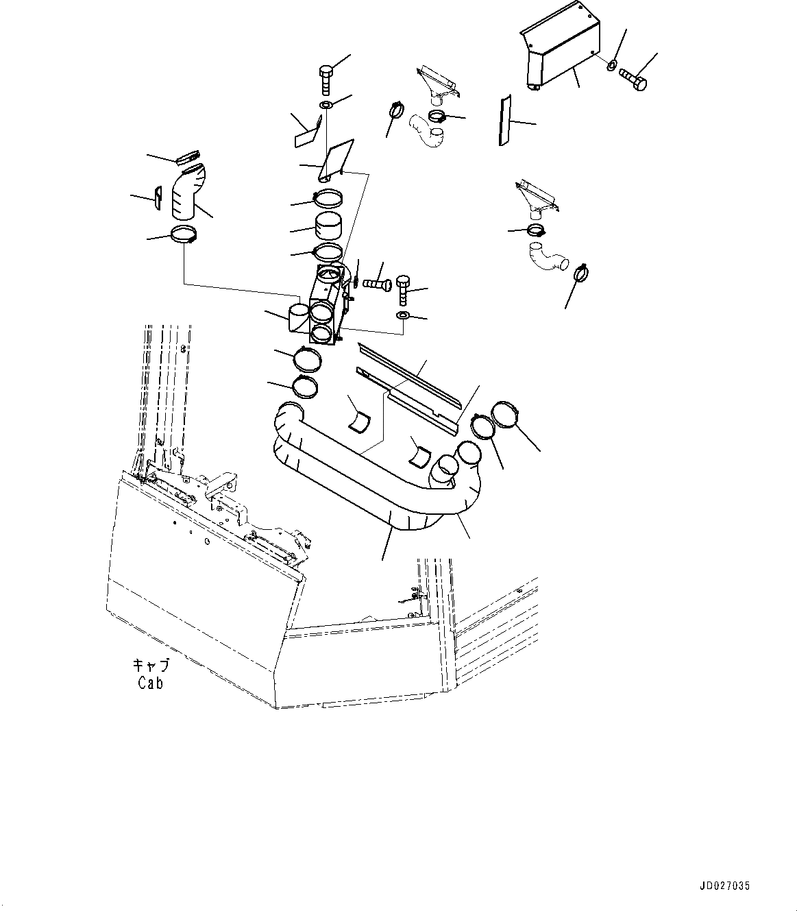
1
2
3
4
5
6
8
7
9
10
11
12
16
22
23
24
25
13
14
12
12
15
15
15
15
18
19
20
21
FIT
1:1
100%

Артикул

Название

Примечание

Количество

1

426-07-32275

Duct

SN: 60638-UP

1шт.

2

01010-80612

Bolt

SN: 60638-UP

3шт.

3

01643-30623

Washer

SN: 60638-UP

3шт.

4

426-926-4381

Cover

SN: 60638-UP

1шт.

5

426-926-4520

Sheet

SN: 60638-UP

1шт.

6

01010-D0616

Bolt

SN: 60638-UP

1шт.

7

01643-70623

Washer

SN: 60638-UP

1шт.

8

01225-70612

Screw, Philips Head

SN: 60638-UP

1шт.

9

418-926-3490

Washer

SN: 60638-UP

1шт.

10

426-07-32312

Hose

SN: 60638-UP

1шт.

11

426-07-32332

Hose

SN: 60638-UP

1шт.

12

426-56-31310

Sheet

SN: 60638-UP

3шт.

13

07281-01029

Clamp, Hose

SN: 60638-UP

2шт.

14

07281-00909

Clamp, Hose

SN: 60638-UP

6шт.

15

07281-00549

Clamp

SN: 60638-UP

4шт.

16

426-925-3390

Sheet

SN: 60638-UP

1шт.

17

426-926-4620

Sheet

SN: 60638-UP

1шт.

18

426-07-32162

Cover

SN: 60638-UP

1шт.

19

01010-D0616

Bolt

SN: 60638-UP

4шт.

20

01643-70623

Washer

SN: 60638-UP

4шт.

21

426-56-31710

Sheet

SN: 60638-UP

1шт.

22

426-07-32342

Hose

SN: 60638-UP

1шт.

23

07281-00909

Clamp, Hose

SN: 60638-UP

2шт.

24

426-07-32432

Hose

SN: 60638-UP

1шт.

25

07281-01029

Clamp, Hose

SN: 60638-UP

2шт.

Выбрано товаров: 25