Запчасти Komatsu WA600-6 СИГНАЛЬН. ЛАМПА (№8-) СИГНАЛЬН. ЛАМПА

Схема запчастей Komatsu WA600-6 - СИГНАЛЬН. ЛАМПА (№8-) СИГНАЛЬН. ЛАМПА
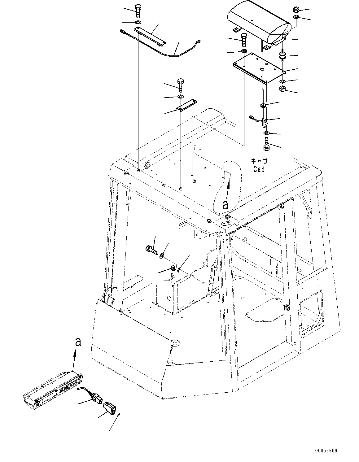
10
9
8
11
6
7
1
4
3
2
5
7
6
15
16
15
16
13
14
12
23
17
18
20
21
19
22
FIT
1:1
100%

Артикул

Название

Примечание

Количество

1

423-957-4120

Beacon Lamp, Caution

SN: 60638-UP

1шт.

2

426-957-3120

Bracket

SN: 60638-UP

1шт.

3

01010-80860

Bolt

SN: 60638-UP

4шт.

4

01643-30823

Washer

SN: 60638-UP

4шт.

5

416-S56-1120

Cushion

SN: 60638-UP

4шт.

6

01580-10806

Nut

SN: 60638-UP

8шт.

7

01643-30823

Washer

SN: 60638-UP

8шт.

8

04434-51008

Clip

SN: 60638-UP

1шт.

9

01010-80816

Bolt

SN: 60638-UP

1шт.

10

01643-30823

Washer

SN: 60638-UP

1шт.

11

423-43-18430

Grommet

SN: 60638-UP

1шт.

12

426-56-32150

Wiring Harness

SN: 60638-UP

1шт.

13

426-56-31750

Cover

SN: 60638-UP

1шт.

14

426-56-32160

Cover

SN: 60638-UP

1шт.

15

01010-81016

Bolt

SN: 60638-UP

4шт.

16

01643-31032

Washer

SN: 60638-UP

4шт.

17

426-06-33510

Switch

SN: 60638-UP

1шт.

18

426-93-43221

Decal Assembly

SN: 60638-UP

1шт.

19

569-06-61970

Relay

SN: 60638-UP

1шт.

20

287-06-16420

Bracket

SN: 60638-UP

1шт.

21

01010-80610

Bolt

SN: 60638-UP

1шт.

22

01643-30623

Washer

SN: 60638-UP

1шт.

23

426-957-3130

Wiring Harness

SN: 60638-60855

1шт.

Выбрано товаров: 0