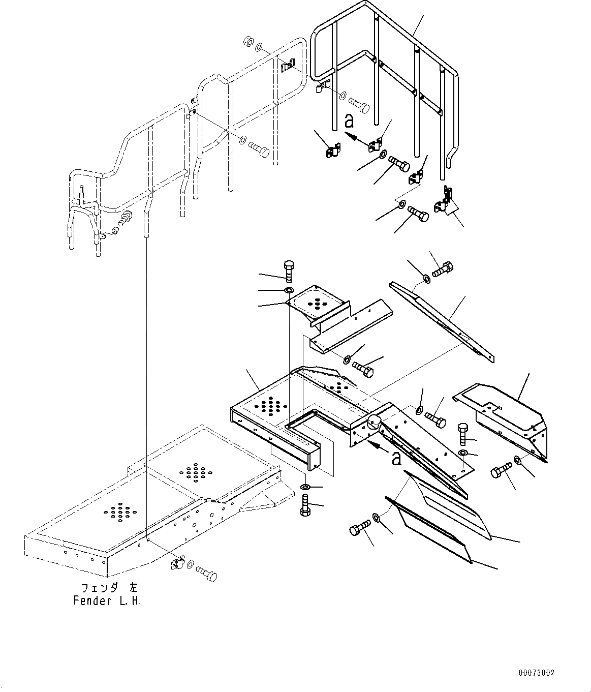
Запчасти Komatsu WA600-6 ЛЕСТНИЦА (№8-) ЛЕСТНИЦА, С ЗАДН. КРЫЛО

Схема запчастей Komatsu WA600-6 - ЛЕСТНИЦА (№8-) ЛЕСТНИЦА, С ЗАДН. КРЫЛО
1
2
3
4
5
6
7
12
13
14
15
16
19
20
3
4
6
7
15
16
17
18
23
9
21
11
10
8
9
21
22
FIT
1:1
100%

Артикул

Название

Примечание

Количество

1

426-54-34323

Floor,L.H.

SN: 60638-UP

1шт.

2

426-54-34362

Cover,L.H.

SN: 60638-UP

1шт.

3

01010-81225

Bolt

SN: 60638-UP

8шт.

4

01643-31232

Washer

SN: 60638-UP

8шт.

5

426-54-34353

Cover,L.H.

SN: 60638-UP

1шт.

6

01010-81225

Bolt

SN: 60638-UP

4шт.

7

01643-31232

Washer

SN: 60638-UP

4шт.

8

426-54-35134

Handrail,L.H.

SN: 60638-UP

1шт.

9

561-54-61910

Clamp

SN: 60638-UP

3шт.

10

01010-D1635

Bolt

SN: 60638-UP

6шт.

11

01643-71645

Washer

SN: 60638-UP

6шт.

12

426-54-34333

Step

SN: 60638-UP

1шт.

13

01010-81655

Bolt

SN: 60638-UP

4шт.

14

01643-31645

Washer

SN: 60638-UP

4шт.

15

01010-81635

Bolt

SN: 60638-UP

7шт.

16

01643-31645

Washer

SN: 60638-UP

7шт.

17

425-54-24210

Sheet

SN: 60638-UP

1шт.

18

426-54-34190

Guard

SN: 60638-UP

1шт.

19

01010-D1230

Bolt

SN: 60638-UP

3шт.

20

01643-71232

Washer

SN: 60638-UP

3шт.

21

561-54-61910

Clamp

SN: 60638-UP

2шт.

22

01010-D1635

Bolt

SN: 60638-UP

4шт.

23

01643-71645

Washer

SN: 60638-UP

4шт.

Выбрано товаров: 23