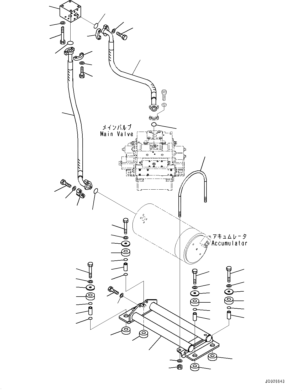
Запчасти Komatsu WA600-6 ГИДРОЛИНИЯ, АККУМУЛЯТОР КОМПОНЕНТЫ (№-) ГИДРОЛИНИЯ

Схема запчастей Komatsu WA600-6 - ГИДРОЛИНИЯ, АККУМУЛЯТОР КОМПОНЕНТЫ (№-) ГИДРОЛИНИЯ
23
21
2
24
29
30
26
25
22
32
31
28
31
29
30
34
33
27
28
13
13
20
18
17
16
15
11
10
9
1
19
15
12
18
17
12
16
14
7
7
14
6
7
8
9
10
11
7
6
3
8
5
5
4
FIT
1:1
100%

Артикул

Название

Примечание

Количество

1

426-62-35730

Bracket

SN: 61052-UP

1шт.

2

426-62-35740

Clip

SN: 61052-UP

1шт.

3

01643-31645

Washer

SN: 61052-UP

2шт.

4

01597-01615

Nut, Flanged

SN: 61052-UP

2шт.

5

203-54-21110

Cushion

SN: 61052-UP

2шт.

6

203-62-61581

Spacer

SN: 61052-UP

2шт.

7

07000-13025

O-ring

SN: 61052-UP

2шт.

8

203-54-21110

Cushion

SN: 61052-UP

2шт.

9

203-62-61572

Plate

SN: 61052-UP

2шт.

10

01643-31645

Washer

SN: 61052-UP

2шт.

11

01011-81600

Bolt

SN: 61052-UP

2шт.

12

203-54-21110

Cushion

SN: 61052-UP

2шт.

13

07000-13025

O-ring

SN: 61052-UP

2шт.

14

203-62-61581

Spacer

SN: 61052-UP

2шт.

15

203-54-21110

Cushion

SN: 61052-UP

2шт.

16

203-62-61572

Plate

SN: 61052-UP

2шт.

17

01643-31645

Washer

SN: 61052-UP

2шт.

18

01011-81600

Bolt

SN: 61052-UP

2шт.

19

01010-81230

Bolt

SN: 61052-UP

2шт.

20

01643-31232

Washer

SN: 61052-UP

2шт.

21

426-62-32940

Hose

SN: 61052-UP

1шт.

22

07000-B3032

O-ring

SN: 61052-UP

1шт.

23

07000-B3038

O-ring

SN: 61052-UP

1шт.

24

07371-51260

Flange, Split

SN: 61052-UP

2шт.

25

01010-81245

Bolt

SN: 61052-UP

4шт.

26

01643-31232

Washer

SN: 61052-UP

4шт.

27

07084-01215

Hose, Flange Type

SN: 61052-UP

1шт.

28

07000-B3038

O-ring

SN: 61052-UP

2шт.

29

07371-51260

Flange, Split

SN: 61052-UP

4шт.

30

01010-81245

Bolt

SN: 61052-UP

8шт.

31

01643-31232

Washer

SN: 61052-UP

8шт.

32

426-62-32930

Block

SN: 61052-UP

1шт.

33

01011-81215

Bolt

SN: 61052-UP

4шт.

34

01643-31232

Washer

SN: 61052-UP

4шт.

Выбрано товаров: 34