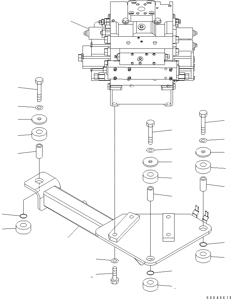
Запчасти Komatsu WA600-6R ОСН. ГИДРАВЛ. КЛАПАН (ДЛЯ ECSS)(№-) ГИДРАВЛИКА

Схема запчастей Komatsu WA600-6R - ОСН. ГИДРАВЛ. КЛАПАН (ДЛЯ ECSS)(№-) ГИДРАВЛИКА
1
2
3
4
5
5
5
5
5
5
6
6
6
7
7
7
8
8
8
9
9
9
10
10
10
FIT
1:1
100%

Артикул

Название

Примечание

Количество

1

723-44-11100

VALVE ASS'Y

SN: 65001-UP

1шт.

2

426-62-33211

BRACKET

SN: 65001-UP

1шт.

3

01010-81660

BOLT

SN: 65001-UP

4шт.

4

01643-31645

WASHER

SN: 65001-UP

4шт.

5

203-54-21110

CUSHION

SN: 65001-UP

6шт.

6

203-62-61572

PLATE

SN: 65001-UP

3шт.

7

203-62-61581

SPACER

SN: 65001-UP

3шт.

8

07000-13025

O-RING

SN: 65001-UP

3шт.

9

01011-81600

BOLT

SN: 65001-UP

3шт.

10

01643-31645

WASHER

SN: 65001-UP

3шт.

Выбрано товаров: 10