Запчасти Komatsu WA600-6R COMPO КОРПУС (ТОРМОЗНАЯ ГИДРОЛИНИЯ) КАБИНА ОПЕРАТОРА И СИСТЕМА УПРАВЛЕНИЯ

Схема запчастей Komatsu WA600-6R - COMPO КОРПУС (ТОРМОЗНАЯ ГИДРОЛИНИЯ) КАБИНА ОПЕРАТОРА И СИСТЕМА УПРАВЛЕНИЯ
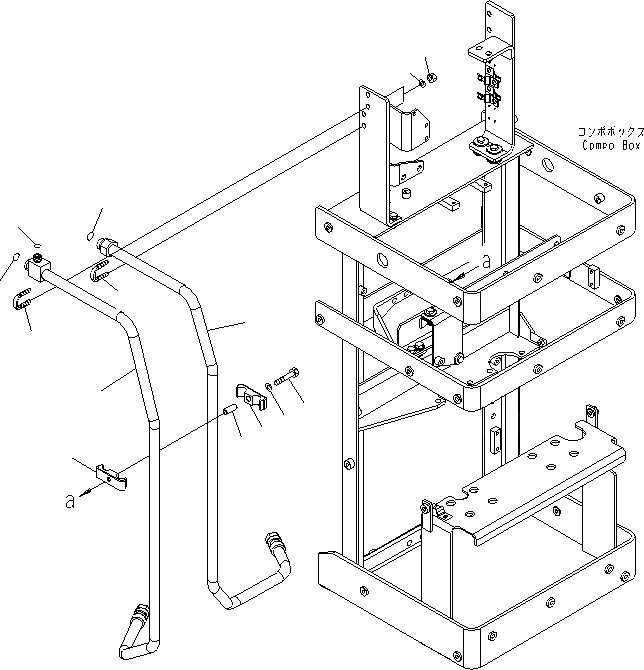
1
2
3
4
5
6
6
7
8
9
10
10
11
12
FIT
1:1
100%

Артикул

Название

Примечание

Количество

|$8

426-43-38013

BRAKE COMP. ASS'Y

SN: 65021-UP

1шт.

|$9

0

BRAKE COMP. ASS'Y

SN: 60217-65020

1шт.

|$10

426-43-37025

BRAKE COMP. ASS'Y

SN: 65021-UP

1шт.

|$11

0

BRAKE COMP. ASS'Y

SN: 60217-65020

1шт.

|$12

426-43-37063

BRAKE COMP. ASS'Y

SN: 65021-UP

1шт.

|$13

0

BRAKE COMP. ASS'Y

SN: 60217-65020

1шт.

|$14

426-43-37053

BRAKE COMP. ASS'Y

SN: 65021-UP

1шт.

|$15

0

BRAKE COMP. ASS'Y

SN: 60217-65020

1шт.

|$$9

THESE ASSEMBLIES CONSIST OF ALL PARTS SHOWN IN FIGS.K4470-01C0 TO K4470-10C0.

-1шт.

1

426-43-39980

TUBE

SN: 65001-UP

1шт.

2

02896-61012

O-RING

SN: 65001-UP

1шт.

3

02896-61018

O-RING

SN: 65001-UP

1шт.

4

426-43-39970

TUBE

SN: 65001-UP

1шт.

5

02896-61018

O-RING

SN: 65001-UP

1шт.

6

23S-61-13620

PLATE

SN: 65001-UP

2шт.

7

23S-61-13590

COLLAR

SN: 65001-UP

1шт.

8

01010-81060

BOLT

SN: 65001-UP

1шт.

9

01643-31032

WASHER

SN: 65001-UP

1шт.

10

07283-32738

CLIP

SN: 65001-UP

2шт.

11

01643-31032

WASHER

SN: 65001-UP

4шт.

12

01597-01009

NUT

SN: 65001-UP

4шт.

Выбрано товаров: 21