Запчасти Komatsu WA600-6R V-ОБРАЗН УСИЛЕНН. КОВШ¤ 7.M (С HENSLEY TEETH ИЧАСТИ КОРПУСА)(№-) РАБОЧЕЕ ОБОРУДОВАНИЕ

Схема запчастей Komatsu WA600-6R - V-ОБРАЗН УСИЛЕНН. КОВШ¤ 7.M (С HENSLEY TEETH И ЧАСТИ КОРПУСА)(№-) РАБОЧЕЕ ОБОРУДОВАНИЕ
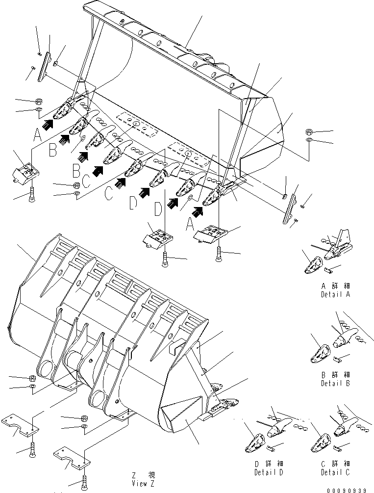
1
1
2
2
3
3
4
5
6
7
8
8
9
9
10
11
12
12
13
14
14
14
14
15
15
15
15
16
16
17
17
18
18
19
19
20
20
21
21
21
21
22
22
23
24
25
26
26
26
27
27
27
28
28
28
FIT
1:1
100%

Артикул

Название

Примечание

Количество

|$1

426-818-3300

BUCKET ASS'Y

SN: 65021-UP

1шт.

|$3

426-818-3310

BUCKET

SN: 65021-UP

1шт.

1

426-70-32280

PLATE (WELDED)

SN: 65021-UP

2шт.

2

426-818-3320

BUCKET

SN: 65021-UP

1шт.

3

426-819-3160

PLATE (WELDED)

SN: 65021-UP

2шт.

|$7

426-819-3120

EDGE

SN: 65021-UP

1шт.

4

426-819-3130

EDGE (WELDED)

SN: 65021-UP

1шт.

5

426-848-3120

ADAPTER,L.H. (WELDED)

SN: 65021-UP

2шт.

6

426-848-3130

ADAPTER,CENTER (WELDED)

SN: 65021-UP

2шт.

7

426-848-3140

ADAPTER,R.H. (WELDED)

SN: 65021-UP

2шт.

8

426-819-3241

PLATE (WELDED)

SN: 65021-UP

2шт.

9

426-819-3280

PLATE (WELDED)

SN: 65021-UP

2шт.

10

426-70-32211

GUARD,L.H. (WELDED)

SN: 65021-UP

1шт.

11

426-70-32221

GUARD,R.H. (WELDED)

SN: 65021-UP

1шт.

12

426-70-32231

PLATE (WELDED)

SN: 65021-UP

2шт.

13

426-848-3150

ADAPTER,CORNER (WELDED)

SN: 65021-UP

2шт.

14

426-848-3110

TOOTH

SN: 65021-UP

8шт.

15

208-934-7590

PIN

SN: 65021-UP

8шт.

16

426-70-32162

PLATE

SN: 65021-UP

2шт.

17

02090-11475

BOLT

SN: 65021-UP

8шт.

18

02290-11422

NUT

SN: 65021-UP

8шт.

19

01643-32460

WASHER

SN: 65021-UP

8шт.

20

208-934-7131

GUARD

SN: 65021-UP

2шт.

21

113-78-21170

PIN

SN: 65021-UP

4шт.

22

209-939-7110

SHIM, 1.0MM

SN: 65021-UP

8шт.

22

209-939-7120

SHIM, 0.5MM

SN: 65021-UP

4шт.

23

426-838-3210

EDGE,L.H.

SN: 65021-UP

3шт.

24

426-838-3220

EDGE,CENTER

SN: 65021-UP

1шт.

25

426-838-3230

EDGE,R.H.

SN: 65021-UP

3шт.

26

01643-33380

WASHER

SN: 65021-UP

21шт.

27

02091-12005

BOLT

SN: 65021-UP

21шт.

28

02290-12031

NUT

SN: 65021-UP

21шт.

Выбрано товаров: 0