Запчасти Komatsu WA600-6R КАПОТ,(№-) КАПОТ, VHMS, PM SERVICE СОЕДИН-Е, С ЗАДН. КРЫЛО

Схема запчастей Komatsu WA600-6R - КАПОТ,  (№-) КАПОТ, VHMS, PM SERVICE СОЕДИН-Е, С ЗАДН. КРЫЛО
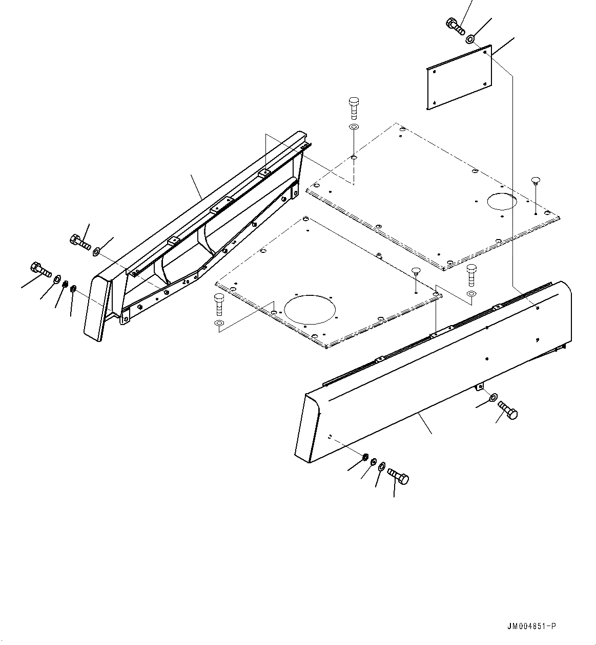
1
2
5
6
7
8
9
10
3
4
8
7
9
10
13
12
11
FIT
1:1
100%

Артикул

Название

Примечание

Количество

1

426-54-41336

Hood, Side, L.H.

SN: 65035-UP

1шт.

2

426-54-46753

Hood, Side, R.H.

SN: 65035-UP

1шт.

3

01010-81230

Bolt

SN: 65035-UP

4шт.

4

01643-31232

Washer

SN: 65035-UP

4шт.

5

01010-81635

Bolt

SN: 65035-UP

8шт.

6

01643-31645

Washer

SN: 65035-UP

8шт.

7

415-46-11380

Rubber

SN: 65021-UP

4шт.

8

01010-81235

Bolt

SN: 65021-UP

4шт.

9

01643-31232

Washer

SN: 65021-UP

4шт.

10

415-46-11370

Spacer

SN: 65021-UP

4шт.

11

426-54-42520

Plate

SN: 65021-UP

1шт.

12

01010-81225

Bolt

SN: 65021-UP

4шт.

13

01643-31232

Washer

SN: 65021-UP

4шт.

Выбрано товаров: 13