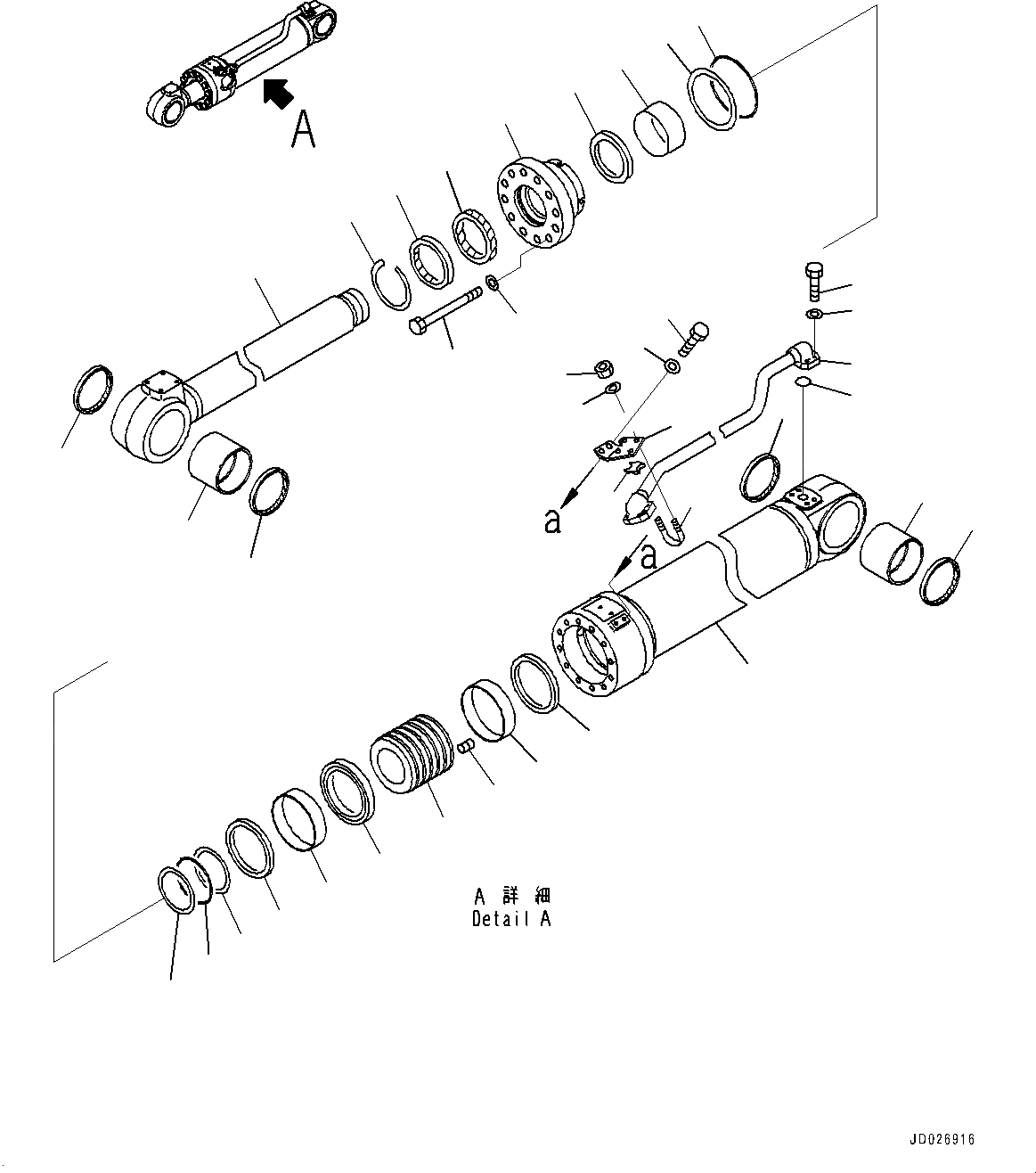
Запчасти Komatsu WA600-6R ГИДРОЦИЛИНДР КОВША, ВНУТР. ЧАСТИ (№-) ГИДРОЦИЛИНДР КОВША, 8MM РУКОЯТЬ

Схема запчастей Komatsu WA600-6R - ГИДРОЦИЛИНДР КОВША, ВНУТР. ЧАСТИ (№-) ГИДРОЦИЛИНДР КОВША, 8MM РУКОЯТЬ
6
5
6
2
9
8
10
7
11
12
14
13
28
29
34
33
16
15
32
4
31
30
25
26
24
27
3
4
1
20
19
21
17
18
19
20
23
22
23
FIT
1:1
100%

Артикул

Название

Примечание

Количество

|$0

707-01-0J620

Cylinder Assembly

SN: 65021-UP

1шт.

1

707-13-22460

Cylinder

SN: 65021-UP

1шт.

2

707-58-14360

Rod, Piston

SN: 65021-UP

1шт.

3

426-70-11860

Bushing

SN: 65021-UP

1шт.

4

426-09-11110

Seal, Dust, (Kit : K05)

SN: 65021-UP

2шт.

5

426-70-11860

Bushing

SN: 65021-UP

1шт.

6

426-09-11110

Seal, Dust, (Kit : K05)

SN: 65021-UP

2шт.

7

707-27-22080

Cylinder Head

SN: 65021-UP

1шт.

8

707-56-14740

Seal, Dust, (Kit : K05)

SN: 65021-UP

1шт.

9

07179-14160

Ring, Snap

SN: 65021-UP

1шт.

10

707-51-14080

Packing, Rod, (Kit : K05)

SN: 65021-UP

1шт.

11

707-51-14650

Ring, Buffer, (Kit : K05)

SN: 65021-UP

1шт.

12

707-52-91171

Bushing

SN: 65021-UP

1шт.

13

07000-15220

O-ring, (Kit : K05)

SN: 65021-UP

1шт.

14

07001-05220

Ring, Back-up, (Kit : K05)

SN: 65021-UP

1шт.

15

01011-83010

Bolt

SN: 65021-UP

12шт.

16

01643-33080

Washer

SN: 65021-UP

12шт.

17

707-36-22240

Piston

SN: 65021-UP

1шт.

18

707-44-22290

Ring, Piston, (Kit : K05)

SN: 65021-UP

1шт.

19

707-39-22820

Ring, Wear, (Kit : K05)

SN: 65021-UP

2шт.

20

707-44-22920

Ring

SN: 65021-UP

2шт.

21

01310-01232

Screw

SN: 65021-UP

1шт.

22

07000-15140

O-ring, (Kit : K05)

SN: 65021-UP

1шт.

23

07001-05140

Ring, Back-up, (Kit : K05)

SN: 65021-UP

2шт.

24

707-86-14170

Tube

SN: 65021-UP

1шт.

25

01010-81445

Bolt

SN: 65021-UP

4шт.

26

01643-31445

Washer, Flat

SN: 65021-UP

4шт.

27

07000-13048

O-ring, (Kit : K05)

SN: 65021-UP

1шт.

28

01010-81230

Bolt

SN: 65021-UP

2шт.

29

01643-31232

Washer

SN: 65021-UP

2шт.

30

707-88-04720

Bracket

SN: 65021-UP

1шт.

31

07283-34354

Clip, Pipe

SN: 65021-UP

2шт.

32

07283-54353

Seat

SN: 65021-UP

2шт.

33

01643-31032

Washer

SN: 65021-UP

4шт.

34

01597-01009

Nut

SN: 65021-UP

4шт.

Выбрано товаров: 35