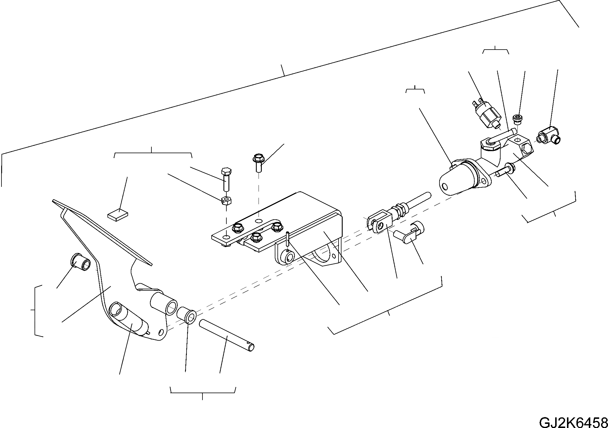
Запчасти Komatsu WA65-6 УПРАВЛ-Е ТОРМОЗОМ (СТАНДАРТН.) K OPERATORґS ОБСТАНОВКА И СИСТЕМА УПРАВЛЕНИЯ

Схема запчастей Komatsu WA65-6 - УПРАВЛ-Е ТОРМОЗОМ (СТАНДАРТН.) K OPERATORґS ОБСТАНОВКА И СИСТЕМА УПРАВЛЕНИЯ
12
1
13
5
2
3
6
8
6
4
17
10
7
16
9
6
11
12
20
15
6
19
14
6
20
18
21
6
FIT
1:1
100%

Артикул

Название

Примечание

Количество

1

0

BRAKE PEDAL ASSY

SN: H60051-UP

1шт.

2

421-00-H0990

SCREW PLUG

SN: H60051-UP

1шт.

3

421-06-H1120

SWITCH, PRESSURE

SN: H60051-UP

1шт.

4

01435-00820

BOLT

SN: H60051-UP

4шт.

5

42T-09-H0570

THROTTLE FREE BANJO ELBOW

SN: H60051-UP

1шт.

6

42T-43-27201

BRAKE PEDAL ASSY

SN: H60051-UP

1шт.

7

01016-50830

SCREW

SN: H60051-UP

1шт.

8

01435-00816

BOLT

SN: H60051-UP

1шт.

9

01435-00825

BOLT

SN: H60051-UP

1шт.

10

01580-00806

NUT

SN: H60051-UP

1шт.

11

42T-09-H2100

CLEVIS PIN

SN: H60051-UP

1шт.

12

42T-43-27150

BRAKE CYLINDER

SN: H60051-UP

1шт.

13

42T-43-H0P01

STUD

SN: H60051-UP

1шт.

14

42T-43-27160

PEDAL

SN: H60051-UP

1шт.

15

42T-43-27170

CONSOLE

SN: H60051-UP

1шт.

16

42T-43-27230

BRAKE CYLINDER

SN: H60051-UP

1шт.

17

42T-43-27B30

RUBBER SPONGE

SN: H60051-UP

1шт.

18

42T-43-27B50

PIN

SN: H60051-UP

1шт.

19

42U-09-H0770

ROLL PIN

SN: H60051-UP

1шт.

20

42U-43-17A50

BUSHING

SN: H60051-UP

2шт.

21

42W-43-37200

SPRING

SN: H60051-UP

1шт.

Выбрано товаров: 21