Запчасти Komatsu WA70-1 ЗАДН. РАМА(№-999) РАМА И ЧАСТИ КОРПУСА

Схема запчастей Komatsu WA70-1 - ЗАДН. РАМА(№-999) РАМА И ЧАСТИ КОРПУСА
FIT
1:1
100%

Артикул

Название

Примечание

Количество

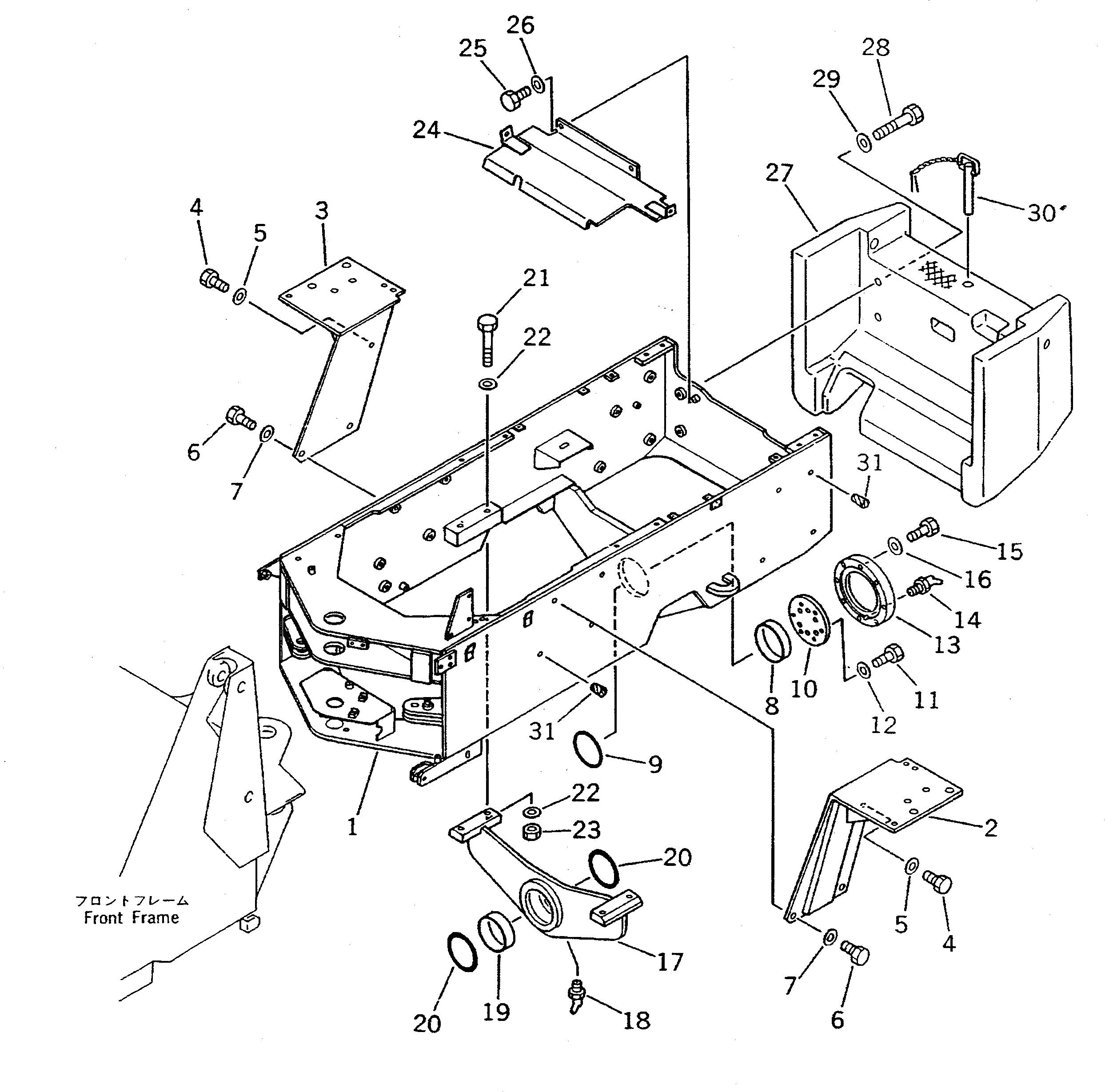
1

415-46-12117

FRAME,REAR (FOR JAPAN)

SN: 10708-11999

1шт.

|1

0

FRAME,REAR (FOR JAPAN)

SN: 10001-10707

1шт.

|1

415-46-12412

FRAME,REAR (EXCEPT JAPAN)

SN: 10708-11999

1шт.

|1

0

FRAME,REAR (EXCEPT JAPAN)

SN: 10001-10707

1шт.

2

415-921-8110

SUPPORT,L.H.

SN: 10001-11999

1шт.

3

415-921-8120

SUPPORT,R.H.

SN: 10001-11999

1шт.

4

01010-31635

BOLT

SN: 10001-11999

2шт.

5

01643-31645

WASHER

SN: 10001-11999

2шт.

6

01010-32460

BOLT

SN: 10001-11999

4шт.

7

01643-32460

WASHER

SN: 10001-@

4шт.

8

415-46-12151

BUSHING

SN: 10001-@

1шт.

9

415-46-12170

O-RING

SN: 10001-@

1шт.

10

415-46-12141

PLATE

SN: 10001-@

1шт.

11

01010-61250

BOLT

SN: 10001-@

6шт.

12

01643-31232

WASHER

SN: 10001-@

6шт.

13

415-46-12130

CAP

SN: 10001-11999

1шт.

14

07020-00675

FITTING,GREASE

SN: 10001-@

1шт.

15

01010-31250

BOLT

SN: 10001-11999

8шт.

16

01643-31232

WASHER

SN: 10001-11999

8шт.

17

415-46-12121

SUPPORT,FRONT AXLE

SN: 10001-11999

1шт.

18

07020-00675

FITTING,GREASE

SN: 10001-@

1шт.

19

415-46-12151

BUSHING

SN: 10001-@

1шт.

20

415-46-12170

O-RING

SN: 10001-@

2шт.

21

01011-31615

BOLT

SN: 10001-11999

4шт.

22

01643-31645

WASHER

SN: 10001-@

8шт.

23

01580-01613

NUT

SN: 10001-@

4шт.

24

415-46-14111

COVER

SN: 10001-11999

1шт.

25

01010-51220

BOLT

SN: 10001-11999

4шт.

26

01643-31232

WASHER

SN: 10001-11999

4шт.

27

415-46-13113

WEIGHT,COUNTER 550KG

SN: 10001-11999

1шт.

28

01011-32435

BOLT

SN: 10001-11999

4шт.

29

01643-32460

WASHER

SN: 10001-11999

4шт.

30

415-46-13130

PIN

SN: 10001-11999

1шт.

31

07049-04253

PLUG

SN: 10001-10707

10шт.

Выбрано товаров: 34