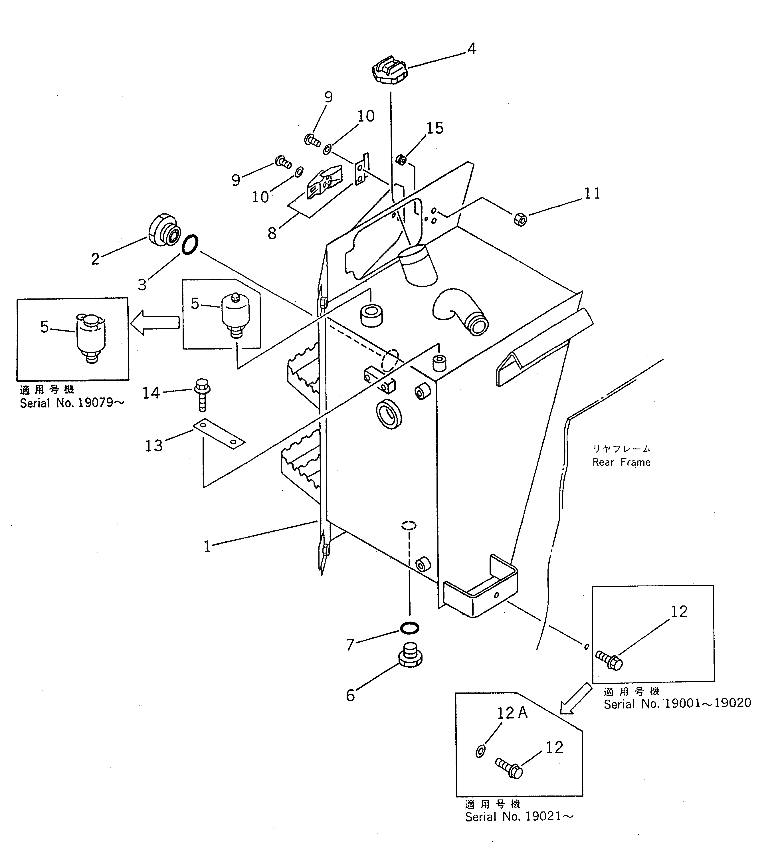
Запчасти Komatsu WA70-1 ГИДР. БАК.(№-) УПРАВЛ-Е РАБОЧИМ ОБОРУДОВАНИЕМ

Схема запчастей Komatsu WA70-1 - ГИДР. БАК.(№-) УПРАВЛ-Е РАБОЧИМ ОБОРУДОВАНИЕМ
FIT
1:1
100%

Артикул

Название

Примечание

Количество

1

415-60-15116

TANK,HYDRAULIC

SN: 12001-UP

1шт.

2

421-60-11622

GAUGE,SIGHT

SN: 12001-UP

1шт.

3

07002-15234

O-RING

SN: 10001-UP

1шт.

4

07051-01000

CAP

SN: 10001-UP

1шт.

|4

07051-00003

GASKET

SN: 10001-UP

1шт.

5

419-60-15231

BREATHER ASS'Y

SN: 12350-UP

1шт.

|5

0

BREATHER ASS'Y

SN: 12001-12349

1шт.

|5

285-62-17320

ELEMENT

SN: 12350-UP

1шт.

|5

419-60-15250

ELEMENT

SN: 12001-12349

1шт.

|5

419-60-15240

BODY

SN: 12001-12349

1шт.

|5

419-60-15260

COVER

SN: 12001-12349

1шт.

|5

419-60-15280

NUT

SN: 12001-12349

1шт.

|5

419-60-15290

WASHER,SPRING

SN: 12001-12349

1шт.

|5

419-60-15310

WASHER

SN: 12001-12349

1шт.

|5

419-60-15270

O-RING

SN: 12001-12349

1шт.

|5

419-60-15370

O-RING

SN: 12350-UP

2шт.

|5

419-60-15380

O-RING

SN: 12350-UP

1шт.

|5

419-60-15390

O-RING

SN: 12350-UP

1шт.

|5

424-60-15220

RING,SNAP

SN: 12350-UP

1шт.

6

07040-12412

PLUG

SN: 12001-UP

1шт.

7

07002-12434

O-RING

SN: 10001-UP

1шт.

8

421-09-12321

HOLDER

SN: 12001-UP

1шт.

9

01220-40512

SCREW

SN: 12001-UP

5шт.

10

01641-20508

WASHER

SN: 12001-UP

5шт.

11

01580-60504

NUT

SN: 12001-UP

5шт.

12

01010-81240

BOLT

SN: 12010-UP

1шт.

|12

01435-01235

BOLT

SN: 12001-12009

1шт.

12A

124-54-26540

WASHER

SN: 12010-UP

1шт.

13

415-60-15130

PLATE

SN: 12001-UP

1шт.

14

01435-01220

BOLT

SN: 12001-UP

2шт.

15

09415-00506

CAP

SN: 12288-UP

1шт.

Выбрано товаров: 31