/ / / / / / ТРАНСМИССИЯ МАСЛОНАЛИВНОЙ ПАТРУБОК И GAUGE(№-999)
Запчасти Komatsu WA70-1 ТРАНСМИССИЯ МАСЛОНАЛИВНОЙ ПАТРУБОК И GAUGE(№-999) ТРАНСМИССИЯ
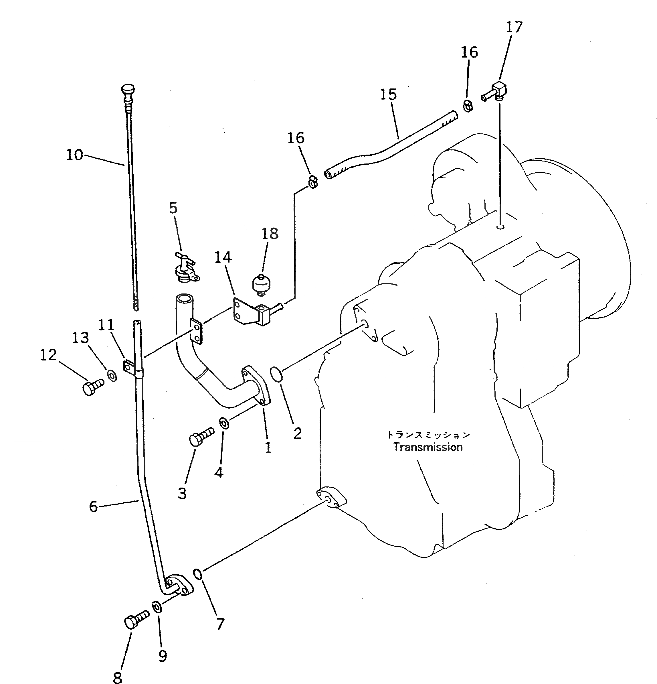
1
415-15-18411
FILLER,OIL
SN: 10001-11999
1шт.
2
07000-13035
O-RING
SN: 10001-@
1шт.
3
01010-51035
BOLT
SN: 10001-11999
2шт.
4
01643-51032
WASHER
SN: 10001-11999
2шт.
5
415-15-18150
PLUG,OIL FILLER TUBE
SN: 10001-11999
1шт.
6
415-15-18171
TUBE,GAUGE GUIDE
SN: 10001-@
1шт.
7
07000-13022
O-RING
SN: 10001-@
1шт.
8
01010-51030
BOLT
SN: 10001-11999
2шт.
9
01643-51032
WASHER
SN: 10001-11999
2шт.
10
415-15-18161
GAUGE
SN: 10001-@
1шт.
11
08036-21414
CLIP
SN: 10001-@
1шт.
12
01010-51025
BOLT
SN: 10001-11999
2шт.
13
01643-31032
WASHER
SN: 10001-11999
2шт.
14
415-15-18430
ELBOW
SN: 10001-11999
1шт.
15
415-15-18440
HOSE
SN: 10001-11999
1шт.
16
07281-00197
CLAMP
SN: 10001-11999
2шт.
17
415-15-18420
ELBOW
SN: 10001-11999
1шт.
18
07030-00252
BREATHER
SN: 10001-11999
1шт.
Выбрано товаров: 0