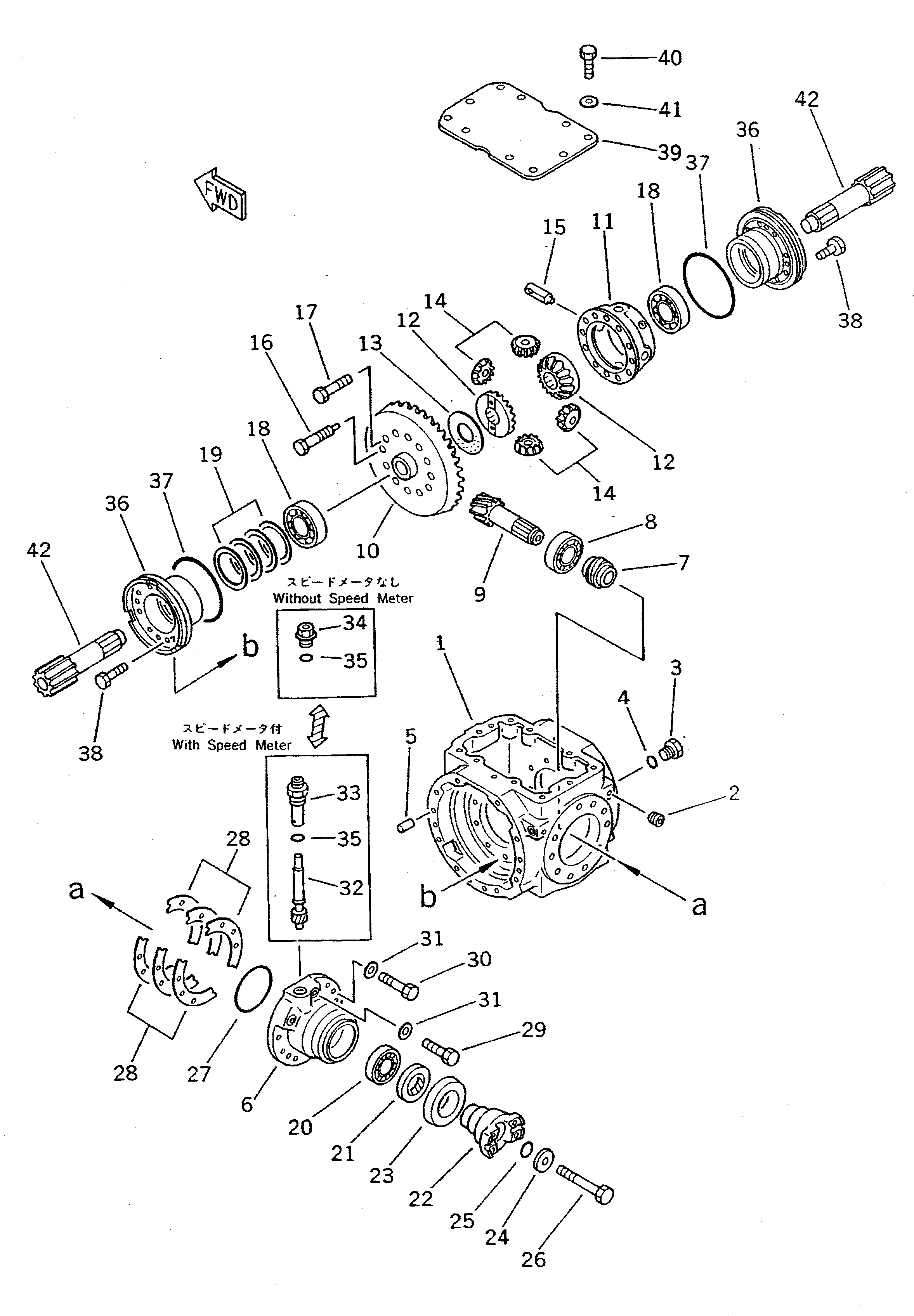
Запчасти Komatsu WA70-1 ПЕРЕДНИЙ ДИФФЕРЕНЦИАЛ(№-999) ВЕДУЩ. ВАЛ¤ ДИФФЕРЕНЦ. И КОЛЕСА

Схема запчастей Komatsu WA70-1 - ПЕРЕДНИЙ ДИФФЕРЕНЦИАЛ(№-999) ВЕДУЩ. ВАЛ¤ ДИФФЕРЕНЦ. И КОЛЕСА
FIT
1:1
100%

Артикул

Название

Примечание

Количество

|1

415-22-10001

FRONT AXLE ASS'Y,(WITH SPEEDOMETER)

SN: 10001-11999

1шт.

|1

415-22-10010

FRONT AXLE ASS'Y,(WITHOUT SPEEDOMETER)

SN: 10001-11999

1шт.

|$$3

THESE ASSEMBLIES CONSIST OF ALL PARTS SHOWN IN FIGS.3101 TO 3121.

-1шт.

|1

415-22-11021

DIFFERENTIAL ASS'Y,(WITH SPEEDOMETER)

SN: 10001-11999

1шт.

|1

415-22-11030

DIFFERENTIAL ASS'Y,(WITHOUT SPEEDOMETER)

SN: 10001-11999

1шт.

1

415-22-13110

HOUSING

SN: 10001-11999

1шт.

2

07043-70211

PLUG

SN: 10001-@

2шт.

3

07040-11209

PLUG

SN: 10001-@

2шт.

4

07002-11223

O-RING

SN: 10001-@

2шт.

5

04020-01228

PIN,DOWEL

SN: 10001-@

4шт.

6

415-22-11131

CAGE

SN: 10001-11999

1шт.

7

415-22-11861

GEAR,WORM

SN: 10001-11999

1шт.

8

415-22-11811

BEARING

SN: 10001-11999

1шт.

|9

415-22-11201

PINION ASS'Y

SN: 10001-11999

1шт.

9

0

GEAR,PINION

SN: 10001-11999

1шт.

10

0

GEAR

SN: 10001-11999

1шт.

11

415-22-11511

CARRIER

SN: 10001-11999

1шт.

12

415-22-11430

GEAR

SN: 10001-@

2шт.

13

415-22-11530

WASHER

SN: 10001-@

1шт.

14

415-22-11420

PINION

SN: 10001-@

4шт.

15

415-22-11410

SHAFT

SN: 10001-@

4шт.

16

415-22-11440

BOLT

SN: 10001-@

4шт.

17

01010-61235

BOLT

SN: 10001-@

8шт.

18

06030-06210

BEARING

SN: 10001-11999

2шт.

19

415-22-11460

SHIM¤ 0.05MM

SN: 10001-11999

1шт.

|19

415-22-11470

SHIM¤ 0.2MM

SN: 10001-11999

2шт.

|19

415-22-11480

SHIM¤ 0.3MM

SN: 10001-11999

2шт.

|19

415-22-11490

SHIM¤ 0.5MM

SN: 10001-11999

4шт.

20

415-22-11820

BEARING

SN: 10001-11999

1шт.

21

07012-00052

SEAL

SN: 10001-11999

1шт.

22

415-22-11230

COUPLING

SN: 10001-11999

1шт.

23

415-22-11310

PROTECTOR

SN: 10001-11999

1шт.

24

415-22-11240

HOLDER

SN: 10001-@

1шт.

25

07000-13028

O-RING

SN: 10001-@

1шт.

26

01010-61285

BOLT

SN: 10001-@

1шт.

27

07000-12105

O-RING

SN: 10001-11999

1шт.

28

415-22-11360

SHIM¤ 0.05MM

SN: 10001-@

2шт.

|28

415-22-11370

SHIM¤ 0.10MM

SN: 10001-@

6шт.

|28

415-22-11380

SHIM¤ 0.40MM

SN: 10001-@

4шт.

29

01010-61235

BOLT

SN: 10001-@

7шт.

30

01010-61250

BOLT

SN: 10001-@

2шт.

31

01643-31232

WASHER

SN: 10001-11999

9шт.

32

415-22-11871

GEAR,(WITH SPEEDOMETER)

SN: 10001-11999

1шт.

33

415-22-11880

SLEEVE,(WITH SPEEDOMETER)

SN: 10001-@

1шт.

34

176-76-67150

PLUG,(WITHOUT SPEEDOMETER)

SN: 10001-11999

1шт.

35

07002-12434

O-RING

SN: 10001-@

1шт.

36

415-22-11160

CARRIER

SN: 10001-11999

2шт.

37

415-33-11430

O-RING

SN: 10001-11999

2шт.

38

01010-60825

BOLT

SN: 10001-@

16шт.

39

415-22-13120

COVER

SN: 10001-@

1шт.

40

01010-61025

BOLT

SN: 10001-@

10шт.

41

01643-31032

WASHER

SN: 10001-@

10шт.

42

415-22-12420

SHAFT

SN: 10001-11999

2шт.

Выбрано товаров: 53