Запчасти Komatsu WA70-1 РАДИАТОР И ТРУБЫ(№-999) КОМПОНЕНТЫ ДВИГАТЕЛЯ И ЭЛЕКТРИКА

Схема запчастей Komatsu WA70-1 - РАДИАТОР И ТРУБЫ(№-999) КОМПОНЕНТЫ ДВИГАТЕЛЯ И ЭЛЕКТРИКА
FIT
1:1
100%

Артикул

Название

Примечание

Количество

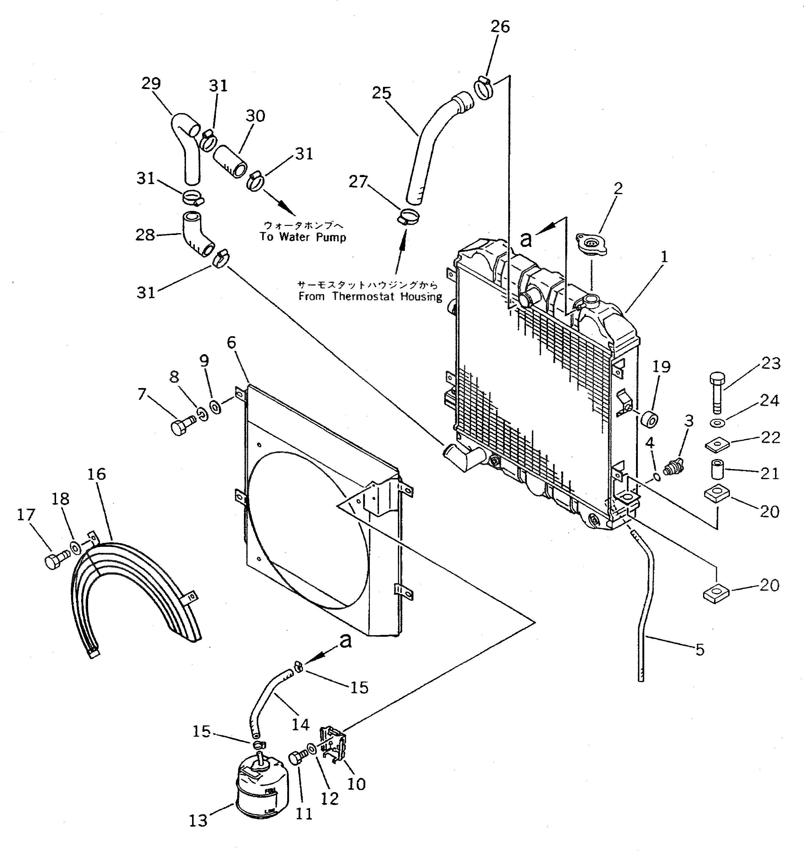
1

415-03-11100

RADIATOR ASS'Y,(WITH OIL COOLER)

SN: 10001-11999

1шт.

2

415-03-11140

CAP

SN: 10001-@

1шт.

3

415-03-11150

COCK

SN: 10001-@

1шт.

4

415-03-11160

O-RING

SN: 10001-@

1шт.

5

415-03-11120

HOSE

SN: 10001-@

1шт.

6

415-03-11130

SHROUD

SN: 10001-11999

1шт.

7

01010-51020

BOLT

SN: 10001-11999

4шт.

8

01602-21030

WASHER,SPRING

SN: 10001-11999

4шт.

9

01643-31032

WASHER

SN: 10001-11999

4шт.

10

362-03-14120

BRACKET

SN: 10001-@

1шт.

11

01010-50620

BOLT

SN: 10001-11999

2шт.

12

01643-30623

WASHER

SN: 10001-11999

2шт.

13

362-03-14110

TANK

SN: 10001-@

1шт.

|13

362-03-31160

CAP

SN: 10001-@

1шт.

14

415-03-11310

HOSE

SN: 10001-11999

1шт.

15

07281-00137

CLAMP

SN: 10001-11999

2шт.

16

415-03-11321

GUARD,FAN

SN: .-11999

1шт.

|16

0

GUARD,FAN

SN: 10001-.

1шт.

17

01010-31020

BOLT

SN: 10001-11999

3шт.

18

01643-31032

WASHER

SN: 10001-11999

3шт.

19

415-03-11240

CUSHION

SN: 10001-@

2шт.

20

415-03-11220

CUSHION

SN: 10001-11999

4шт.

21

415-03-11210

SPACER

SN: 10001-11999

2шт.

22

415-03-11230

PLATE

SN: 10001-11999

2шт.

23

01010-31260

BOLT

SN: 10001-11999

2шт.

24

01643-31232

WASHER

SN: 10001-11999

2шт.

25

415-03-12111

HOSE,UPPER

SN: 10501-11999

1шт.

|25

0

HOSE,UPPER

SN: 10001-10500

1шт.

26

07281-00549

CLAMP

SN: 10001-@

1шт.

27

07281-00489

CLAMP

SN: 10001-@

1шт.

28

415-03-12121

HOSE

SN: 10501-11999

1шт.

|28

0

HOSE

SN: 10001-10500

1шт.

29

415-03-12130

TUBE

SN: 10001-11999

1шт.

30

415-03-12141

HOSE

SN: 10501-11999

1шт.

|30

0

HOSE

SN: 10001-10500

1шт.

31

07281-00549

CLAMP

SN: 10001-11999

4шт.

Выбрано товаров: 36