Запчасти Komatsu WA70-1 КРЫЛО(№-) РАМА И ЧАСТИ КОРПУСА

Схема запчастей Komatsu WA70-1 - КРЫЛО(№-) РАМА И ЧАСТИ КОРПУСА
FIT
1:1
100%

Артикул

Название

Примечание

Количество

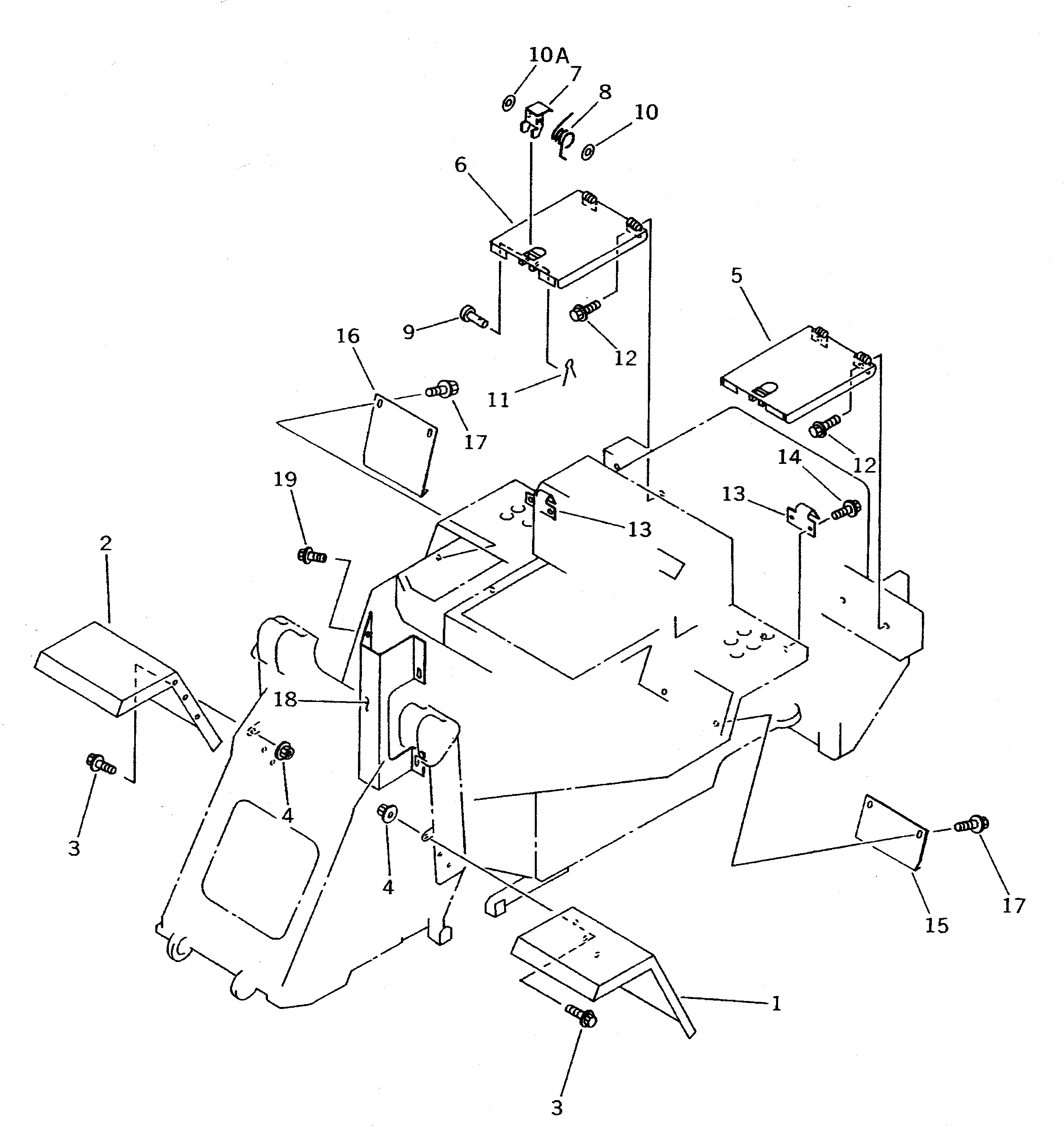
1

415-54-12422

FENDER,L.H.

SN: 12001-UP

1шт.

2

415-54-12432

FENDER,R.H.

SN: 12001-UP

1шт.

3

01435-01230

BOLT

SN: 12593-UP

6шт.

3

0

BOLT

SN: 12001-12592

6шт.

4

01584-01210

NUT

SN: 12001-12184

2шт.

5

415-54-11512

FENDER,L.H.

SN: 12001-UP

1шт.

5

416-09-12280

HINGE (WELDED)

SN: 12001-UP

2шт.

5

415-54-11540

SHEET

SN: 12001-UP

2шт.

6

415-54-11522

FENDER,R.H.

SN: 12001-UP

1шт.

6

415-54-11540

SHEET

SN: 12001-UP

2шт.

7

415-54-11610

LATCH

SN: 12001-UP

2шт.

8

415-54-11620

SPRING

SN: 12001-UP

2шт.

9

415-54-11630

PIN

SN: 12001-UP

2шт.

10

01643-50823

WASHER

SN: 12902-UP

2шт.

10

01643-30623

WASHER

SN: 12001-12901

2шт.

10A

01643-30623

WASHER

SN: 12001-12901

2шт.

11

04050-12015

PIN,COTTER

SN: 12001-UP

2шт.

12

01435-01225

BOLT

SN: 12001-UP

4шт.

13

415-54-11640

PLATE

SN: 12001-UP

2шт.

14

01435-01225

BOLT

SN: 12001-UP

4шт.

15

415-54-14112

COVER,L.H.

SN: 12001-UP

1шт.

16

415-54-12354

COVER,R.H.

SN: 12001-UP

1шт.

17

01435-01220

BOLT

SN: 12001-UP

4шт.

18

415-54-12374

COVER

SN: 12001-UP

1шт.

19

01435-01220

BOLT

SN: 12001-UP

4шт.

Выбрано товаров: 25