Запчасти Komatsu WA70-1 КАБИНА (8/9) (ДВЕРЬ (/)) РАМА И ЧАСТИ КОРПУСА

Схема запчастей Komatsu WA70-1 - КАБИНА (8/9) (ДВЕРЬ (/)) РАМА И ЧАСТИ КОРПУСА
FIT
1:1
100%

Артикул

Название

Примечание

Количество

|$0

415-54-15021

OPERATOR'S CAB ASS'Y

SN: ..-UP

1шт.

|$1

415-54-15020

OPERATOR'S CAB ASS'Y

SN: 10001-..

1шт.

|$$3

THESE ASSEMBLIES CONSIST OF ALL PARTS SHOWN IN FIGS.5441 TO 5449.

-1шт.

|$3

415-54-16004

DOOR ASS'Y,L.H. (BLUE E2)

SN: ..-UP

1шт.

|$4

415-54-16003

DOOR ASS'Y,L.H. (KOMATSU SPACE BLUE)

SN: 12001-..

1шт.

|$5

415-54-16002

DOOR ASS'Y,L.H.

SN: .-11999

1шт.

|$6

0

DOOR ASS'Y,L.H.

SN: 10001-.

1шт.

|$7

415-54-17004

DOOR ASS'Y,R.H. (BLUE E2)

SN: ..-UP

1шт.

|$8

415-54-17003

DOOR ASS'Y,R.H. (KOMATSU SPACE BLUE)

SN: 12001-..

1шт.

|$9

415-54-17002

DOOR ASS'Y,R.H.

SN: .-11999

1шт.

|$10

0

DOOR ASS'Y,R.H.

SN: 10001-.

1шт.

|$$12

THESE ASSEMBLIES CONSIST OF ALL PARTS SHOWN IN FIGS.5447 AND 5448.

-1шт.

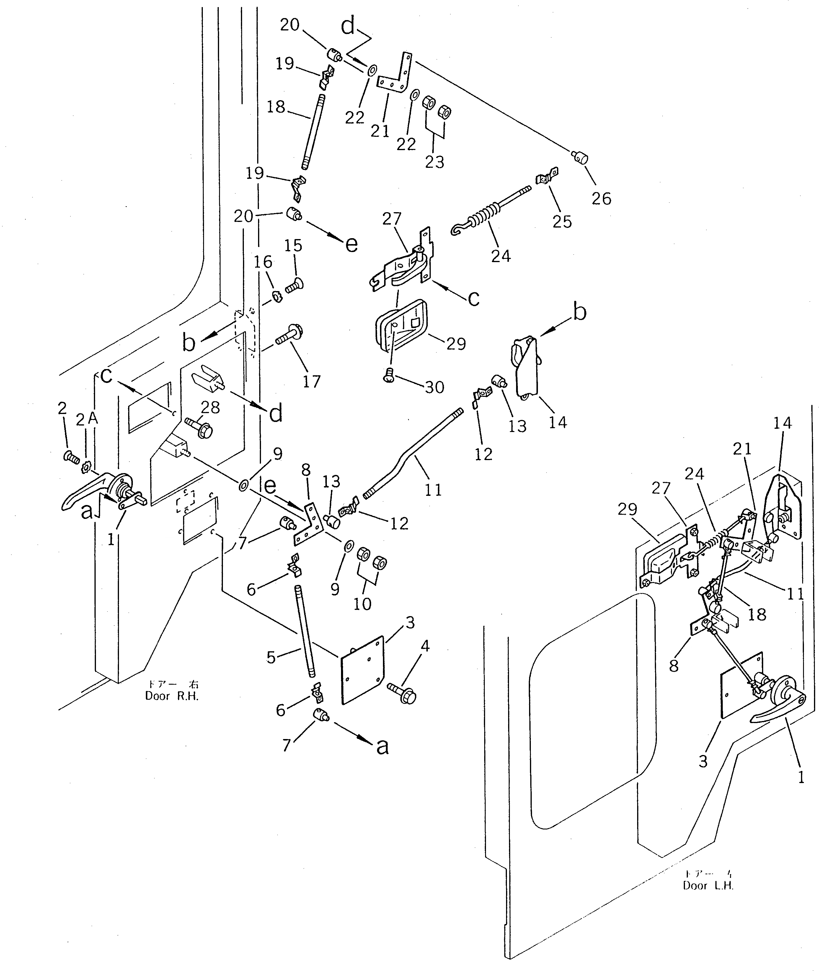
1

419-54-16620

HANDLE,OUTER

SN: 10001-UP

1шт.

2

01224-40416

SCREW

SN: 10001-UP

2шт.

2A

419-923-1860

WASHER

SN: 10001-UP

2шт.

3

419-54-16680

COVER,LOWER, L.H.

SN: 10001-UP

1шт.

3

419-54-17330

COVER,LOWER, R.H.

SN: 10001-UP

1шт.

4

01435-00612

BOLT

SN: 12001-UP

3шт.

4

421-54-16850

BOLT

SN: 10001-11999

3шт.

5

419-54-16651

ROD

SN: 10001-UP

1шт.

6

421-54-16350

SPRING

SN: 10001-UP

2шт.

7

421-54-16370

PIN

SN: 10001-UP

2шт.

8

419-54-16671

LEVER

SN: 10001-UP

1шт.

9

01641-20608

WASHER

SN: 10001-UP

2шт.

10

01580-10605

NUT

SN: 10001-UP

2шт.

11

419-54-16641

ROD

SN: 10001-UP

1шт.

12

421-54-16350

SPRING

SN: 10001-UP

2шт.

13

421-54-16370

PIN

SN: 10001-UP

2шт.

14

421-54-16201

LOCK,L.H.

SN: 10001-UP

1шт.

14

421-54-17201

LOCK,R.H.

SN: 10001-UP

1шт.

15

01224-40616

SCREW

SN: 10001-UP

1шт.

16

421-54-16440

WASHER

SN: 10001-UP

1шт.

17

01435-00612

BOLT

SN: 12001-UP

2шт.

17

0

BOLT

SN: 10001-11999

2шт.

18

419-54-16651

ROD

SN: 10001-UP

1шт.

19

421-54-16350

SPRING

SN: 10001-UP

2шт.

20

421-54-16370

PIN

SN: 10001-UP

2шт.

21

419-54-16671

LEVER

SN: 10001-UP

1шт.

22

01641-20608

WASHER

SN: 10001-UP

2шт.

23

01580-10605

NUT

SN: 10001-UP

2шт.

24

419-54-16740

ROD

SN: 10001-UP

1шт.

25

425-54-16450

SPRING

SN: 10001-UP

1шт.

26

425-54-16460

PIN

SN: 10001-UP

1шт.

27

425-54-16420

HANDLE,L.H.

SN: 10001-UP

1шт.

27

425-54-17420

HANDLE,R.H.

SN: 10001-UP

1шт.

28

01435-00612

BOLT

SN: 12001-UP

3шт.

28

0

BOLT

SN: 10001-11999

3шт.

29

425-54-16430

COVER,L.H.

SN: 10001-UP

1шт.

29

425-54-17430

COVER,R.H.

SN: 10001-UP

1шт.

30

01225-40512

SCREW

SN: 10001-UP

1шт.

Выбрано товаров: 50