Запчасти Komatsu WA70-1 АККУМУЛЯТОР(№-) КОМПОНЕНТЫ ДВИГАТЕЛЯ И ЭЛЕКТРИКА

Схема запчастей Komatsu WA70-1 - АККУМУЛЯТОР(№-) КОМПОНЕНТЫ ДВИГАТЕЛЯ И ЭЛЕКТРИКА
FIT
1:1
100%

Артикул

Название

Примечание

Количество

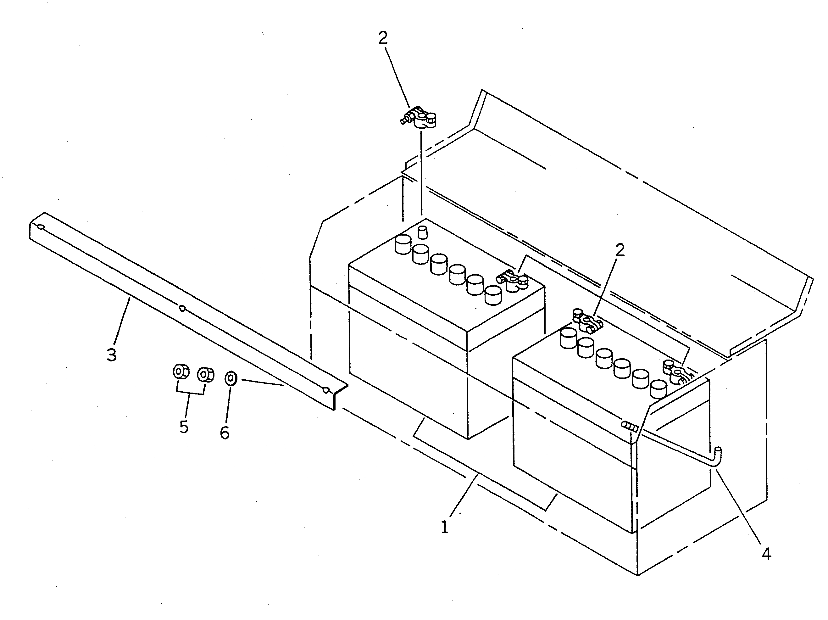
1

08000-32207

BATTERY (65D26R)

SN: 10001-UP

2шт.

1

08000-42207

BATTERY (65D26R),DRY TYPE

SN: 10001-UP

2шт.

2

08000-00000

TERMINAL, (+)

SN: 10001-UP

2шт.

2

08000-00001

TERMINAL, (-)

SN: 10001-UP

2шт.

3

415-06-14120

HOLDER

SN: 12001-UP

1шт.

4

415-06-14130

ROD

SN: 12001-UP

3шт.

5

01580-10806

NUT

SN: 12001-UP

6шт.

6

154-61-16570

WASHER

SN: 12001-UP

3шт.

Выбрано товаров: 8