Запчасти Komatsu WA70-1 2-Х СЕКЦИОНН. УПРАВЛЯЮЩ. КЛАПАН (/)(№-999) УПРАВЛ-Е РАБОЧИМ ОБОРУДОВАНИЕМ

Схема запчастей Komatsu WA70-1 - 2-Х СЕКЦИОНН. УПРАВЛЯЮЩ. КЛАПАН (/)(№-999) УПРАВЛ-Е РАБОЧИМ ОБОРУДОВАНИЕМ
FIT
1:1
100%

Артикул

Название

Примечание

Количество

|$0

700-22-48003

VALVE ASS'Y

SN: .-.

1шт.

|$1

700-22-48002

VALVE ASS'Y

SN: .-11999

1шт.

|$2

0

VALVE ASS'Y

SN: 10001-.

1шт.

|$$4

THESE ASSEMBLIES CONSIST OF ALL PARTS SHOWN IN FIGS.6201 AND 6202.

-1шт.

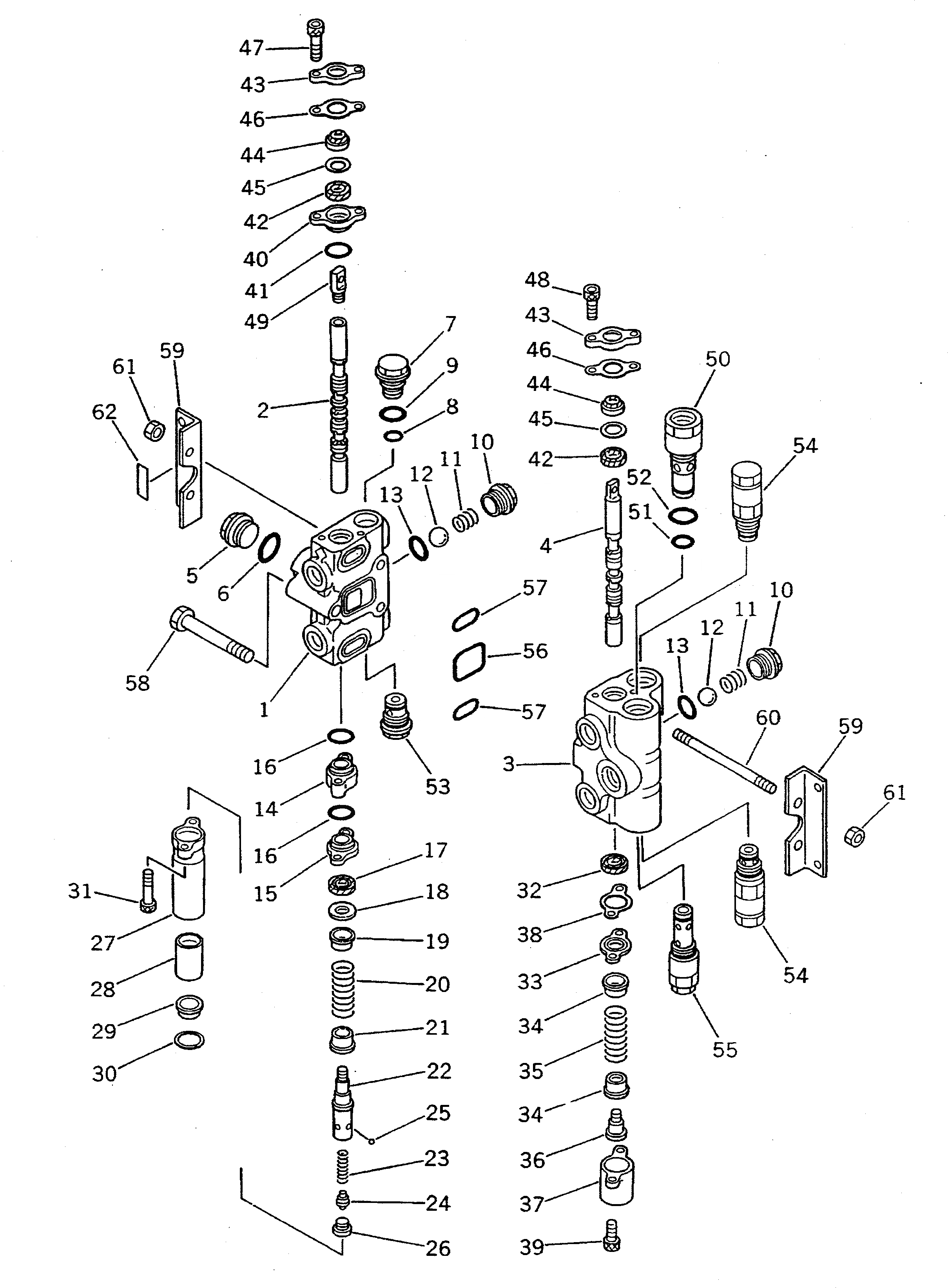
1

0

COVER,VALVE

SN: 10001-@

1шт.

2

0

SPOOL,LIFT

SN: 10001-@

1шт.

3

0

BODY,VALVE

SN: 10001-@

1шт.

4

0

SPOOL,DUMP

SN: 10001-11999

1шт.

5

700-22-11370

PLUG

SN: 10001-@

1шт.

6

07002-02434

O-RING

SN: 10001-@

1шт.

7

700-22-11360

PLUG

SN: 10001-@

1шт.

8

07000-12014

O-RING

SN: 10001-@

1шт.

9

07002-02434

O-RING

SN: 10001-@

1шт.

10

700-22-11351

PLUG

SN: 10001-@

2шт.

11

700-22-12350

SPRING

SN: 10001-@

2шт.

12

700-22-12340

BALL

SN: 10001-@

2шт.

13

07002-12434

O-RING

SN: 10001-@

2шт.

14

700-22-11630

PLATE

SN: 10001-@

1шт.

15

700-22-12280

PLATE

SN: 10001-@

1шт.

16

07000-02018

O-RING

SN: 10001-@

2шт.

17

700-22-11252

U-PACKING

SN: 10001-@

1шт.

18

700-21-11150

PLATE

SN: 10001-@

1шт.

19

700-22-11291

RETAINER

SN: 10001-@

1шт.

20

700-22-11510

SPRING

SN: 10001-@

1шт.

21

700-22-11520

RETAINER

SN: 10001-@

1шт.

22

700-22-12250

PLUG

SN: 10001-@

1шт.

23

700-21-11190

SPRING

SN: 10001-@

1шт.

24

700-22-12480

GUIDE

SN: 10001-@

1шт.

25

700-84-11730

BALL

SN: 10001-@

3шт.

26

700-21-11210

PLUG

SN: 10001-@

1шт.

27

700-22-12311

CASE,DETENT

SN: .-11999

1шт.

27

700-22-12310

CASE,DETENT

SN: 10001-.

1шт.

28

700-22-12263

DETENT

SN: .-11999

1шт.

28

700-22-12262

DETENT

SN: 10001-.

1шт.

29

700-22-12270

PLUG

SN: 10001-@

1шт.

30

700-22-11610

RING,SNAP

SN: 10001-@

1шт.

31

01252-40640

BOLT

SN: 10001-@

2шт.

32

700-22-11252

U-PACKING

SN: 10001-@

1шт.

33

700-22-11281

PLATE

SN: 10001-11999

1шт.

34

700-22-11291

RETAINER

SN: 10001-11999

2шт.

35

700-22-11311

SPRING

SN: 10001-11999

1шт.

36

700-22-11321

PLUG

SN: 10001-11999

1шт.

37

700-22-11331

COVER

SN: 10001-11999

1шт.

38

700-22-11421

GASKET

SN: .-.

1шт.

38

700-22-11420

GASKET

SN: 10001-11999

1шт.

39

01252-40616

BOLT

SN: 10001-11999

2шт.

40

700-22-11620

PLATE

SN: 10001-@

1шт.

41

07000-02018

O-RING

SN: 10001-@

1шт.

42

700-22-11252

U-PACKING

SN: 10001-@

2шт.

43

700-22-11270

PLATE

SN: 10001-@

2шт.

44

700-22-11261

SEAL,DUST

SN: 10001-@

2шт.

45

700-22-11430

COLLAR

SN: 10001-@

2шт.

46

700-22-11420

GASKET

SN: 10001-@

2шт.

47

01252-40625

BOLT

SN: 10001-@

2шт.

48

01252-40616

BOLT

SN: 10001-@

2шт.

49

700-26-11160

PLUG

SN: 10001-@

1шт.

50

700-22-11380

PLUG

SN: 10001-@

1шт.

51

07000-12014

O-RING

SN: 10001-@

1шт.

52

07002-02434

O-RING

SN: 10001-@

1шт.

53

700-20-81000

VALVE ASS'Y,SUCTION

SN: 10001-@

1шт.

54

700-20-82000

VALVE ASS'Y,SUCTION AND SAFETY

SN: 10001-@

2шт.

55

700-24-55000

VALVE ASS'Y,RELIEF

SN: 10001-@

1шт.

56

07000-13040

O-RING

SN: 10001-@

1шт.

57

700-22-11450

O-RING

SN: 10001-@

2шт.

58

700-22-11731

BOLT

SN: 10001-@

1шт.

59

700-22-11220

ANGLE

SN: 10001-@

2шт.

60

700-22-11211

STUD

SN: 10001-@

2шт.

61

01580-10806

NUT

SN: 10001-@

4шт.

62

700-11-31980

PLATE, NAME

SN: 10001-@

1шт.

Выбрано товаров: 0