Запчасти Komatsu WA70-1 КОВШ ПОЗИЦИОНЕР(№-) УПРАВЛ-Е РАБОЧИМ ОБОРУДОВАНИЕМ

Схема запчастей Komatsu WA70-1 - КОВШ ПОЗИЦИОНЕР(№-) УПРАВЛ-Е РАБОЧИМ ОБОРУДОВАНИЕМ
FIT
1:1
100%

Артикул

Название

Примечание

Количество

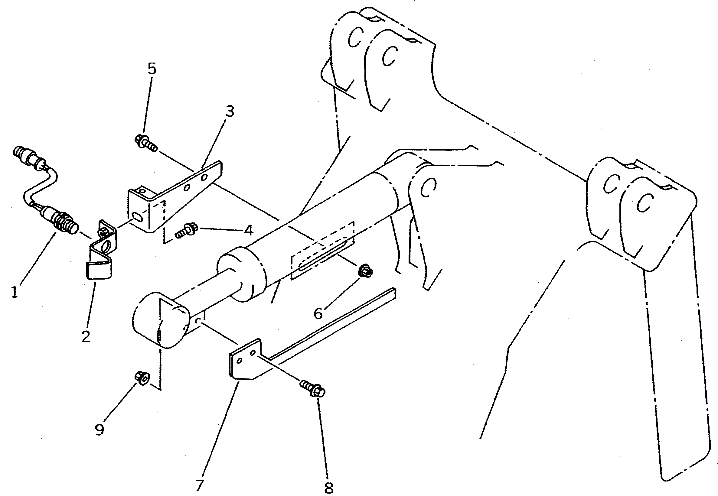
1

421-06-11166

SWITCH,BUCKET POSITIONER

SN: 12902-UP

1шт.

1

0

SWITCH,BUCKET POSITIONER

SN: 12001-12901

1шт.

2

417-43-19151

SUPPORT

SN: 12001-UP

1шт.

3

415-V94-1110

BRACKET

SN: 12001-UP

1шт.

4

01435-01220

BOLT

SN: 12001-UP

1шт.

5

01435-01225

BOLT

SN: 12001-UP

2шт.

6

01584-01210

NUT

SN: 12001-UP

2шт.

7

417-43-19131

BAR

SN: 12001-UP

1шт.

7

415-883-1210

BAR,(FOR LUMBER FORK)

SN: 12001-UP

1шт.

7

415-883-1210

BAR,(FOR DUMPING FORK)

SN: 12001-UP

1шт.

8

01435-01230

BOLT

SN: 12001-UP

2шт.

9

01584-01210

NUT

SN: 12001-UP

2шт.

Выбрано товаров: 12