Запчасти Komatsu WA70-1 ОБОГРЕВАТЕЛЬ. (/)(№-) СПЕЦ. APPLICATION ЧАСТИ

Схема запчастей Komatsu WA70-1 - ОБОГРЕВАТЕЛЬ. (/)(№-) СПЕЦ. APPLICATION ЧАСТИ
FIT
1:1
100%

Артикул

Название

Примечание

Количество

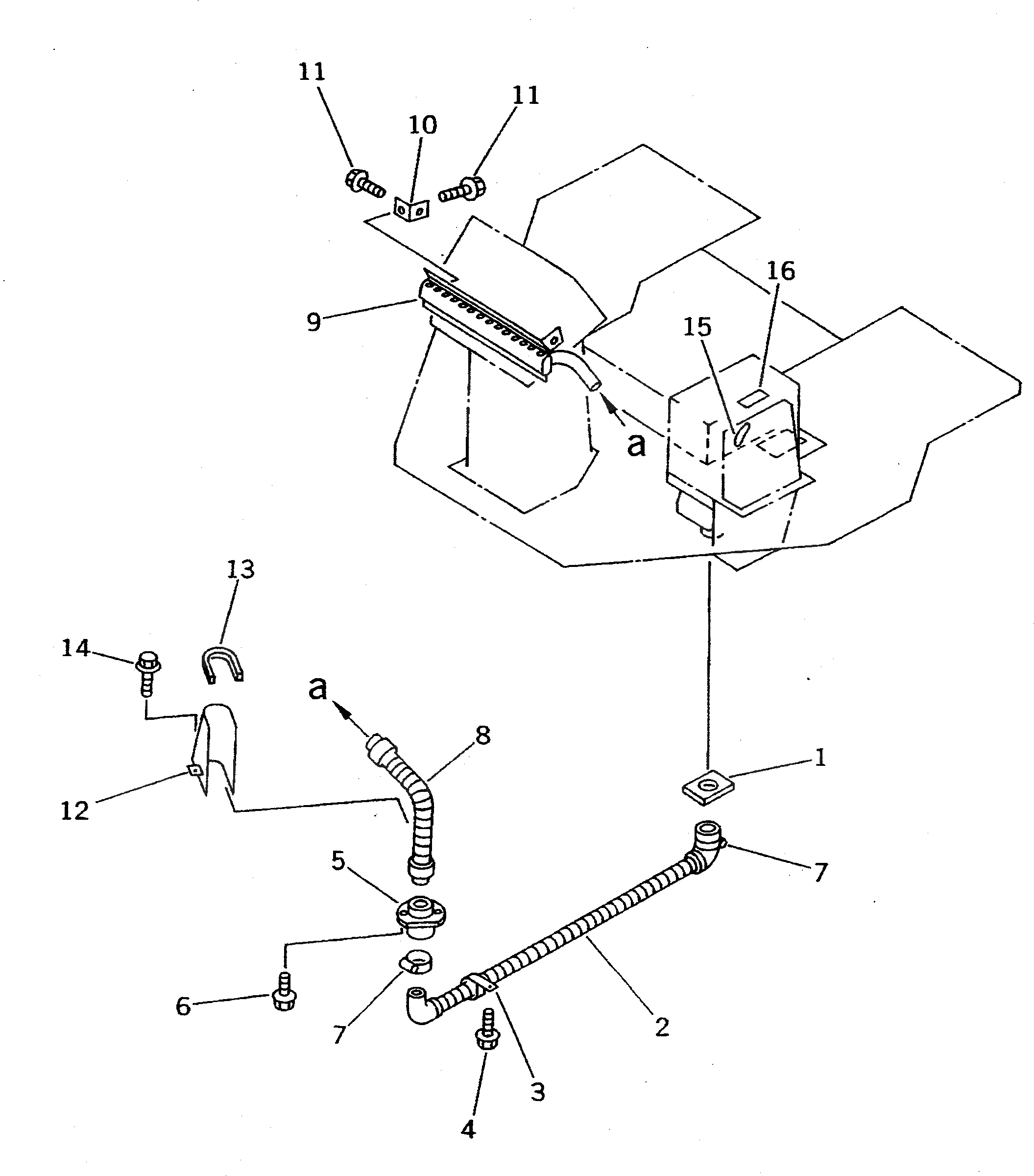
1

415-943-1481

SHEET

SN: 12001-UP

1шт.

2

415-942-1140

HOSE ASS'Y

SN: 12001-UP

1шт.

3

205-03-71191

CLAMP

SN: 12001-UP

1шт.

4

01435-00812

BOLT

SN: 12001-UP

1шт.

5

416-942-1370

PIPE

SN: 12001-UP

1шт.

6

01435-00616

BOLT

SN: 12001-UP

2шт.

7

07281-00709

CLAMP

SN: 12001-UP

2шт.

8

416-942-1330

HOSE

SN: 12001-UP

1шт.

9

416-942-1210

NOZZLE

SN: 12001-UP

1шт.

10

416-942-1280

BRACKET

SN: 12001-UP

1шт.

11

01435-01016

BOLT

SN: 12001-UP

2шт.

12

416-942-1221

COVER

SN: 12001-UP

1шт.

13

416-942-1260

PROTECTOR

SN: 12001-UP

1шт.

14

01435-00812

BOLT

SN: 12001-UP

2шт.

15

416-942-1810

PLATE, OPERATING

SN: 12001-UP

1шт.

16

416-942-1791

PLATE, OPERATING

SN: 12001-UP

1шт.

Выбрано товаров: 16